EasyManua.ls Logo

Bosch Rexroth IndraDrive CDB02 - Analog Inputs;Outputs: Shield Connection; Analog Input; Analog Output

Bosch Rexroth IndraDrive CDB02
146 pages
Print Icon
To Next Page IconTo Next Page
To Next Page IconTo Next Page
To Previous Page IconTo Previous Page
To Previous Page IconTo Previous Page
Loading...
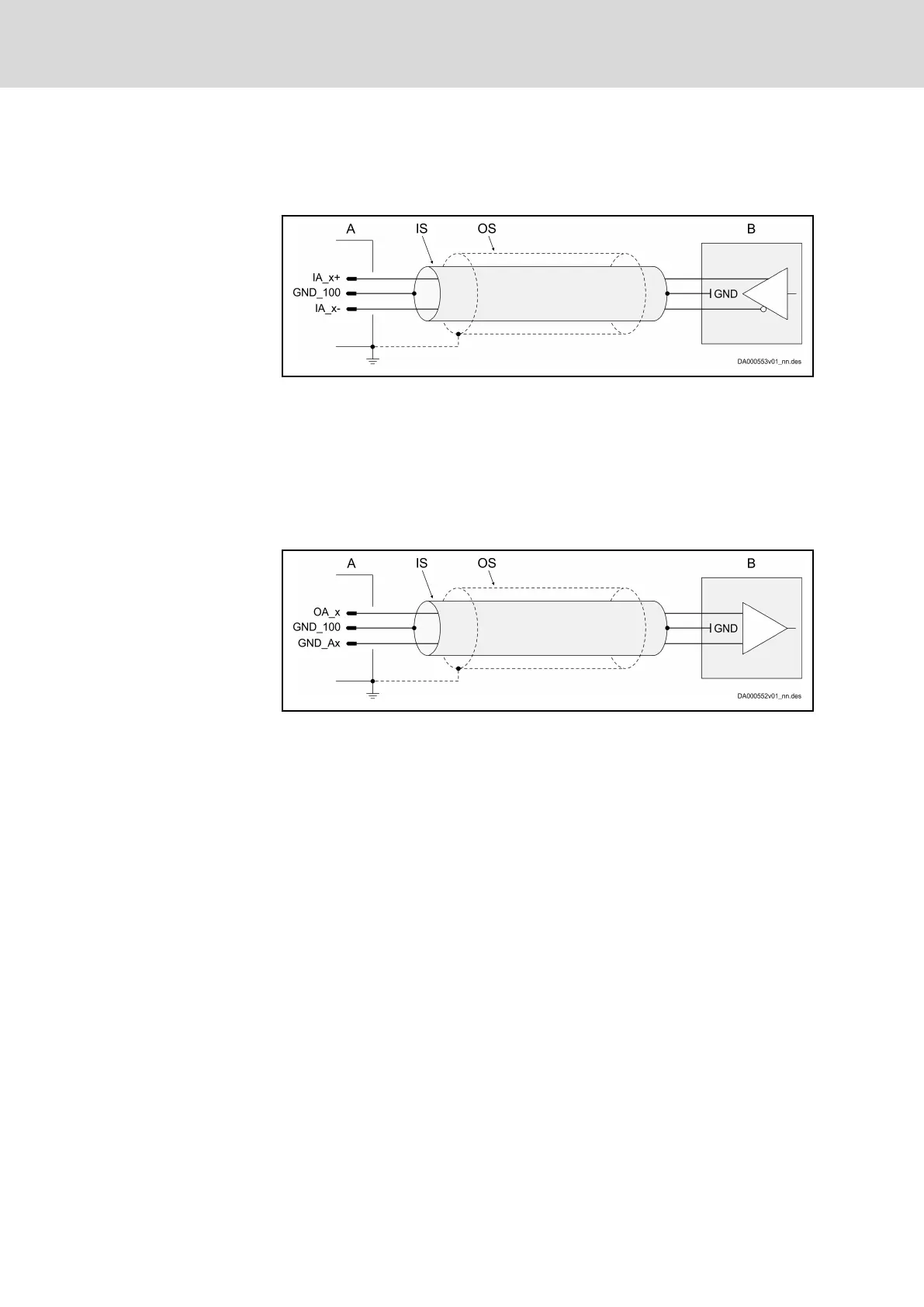
9.3 Analog inputs/outputs: Shield connection
9.3.1
Analog input
A Analog input of the drive controller; only connect the inner
shield of the connection cable to the drive controller if GND has
not been connected to ground in the external device.
B External device
IS Inner shield of the connection cable
OS Overall shield of the connection cable
Fig. 9-1: Shield connection for analog inputs
9.3.2 Analog output
A Analog output of drive controller
B External device; only connect the inner shield of the connection
cable to the external device if GND has not been connected to
ground in the external device.
IS Inner shield of the connection cable
OS Overall shield of the connection cable
Fig. 9-2: Shield connection for analog outputs
Bosch Rexroth AG DOK-INDRV*-CXX02******-PR03-EN-P130/143
IndraDrive Control Sections CSB02, CSE02, CSH02, CDB02
Technical data - other
Courtesy of CMA/Flodyne/Hydradyne Motion Control Hydraulic Pneumatic Electrical Mechanical (800) 426-5480 www.cmafh.com

Table of Contents

Related product manuals