EasyManua.ls Logo

Brooks SLA5863 - RS485 Multidrop Interconnection Tmfs and PC

Default Icon
74 pages
Print Icon
To Next Page IconTo Next Page
To Next Page IconTo Next Page
To Previous Page IconTo Previous Page
To Previous Page IconTo Previous Page
Loading...
2-8
Brooks
®
Digital MFC's & MFM's
Section 2 Installation
Installation and Operation Manual
X-TMF-SLA5800-Series-RevB-MFC-eng
Part Number: 541B187AAG
January, 2017
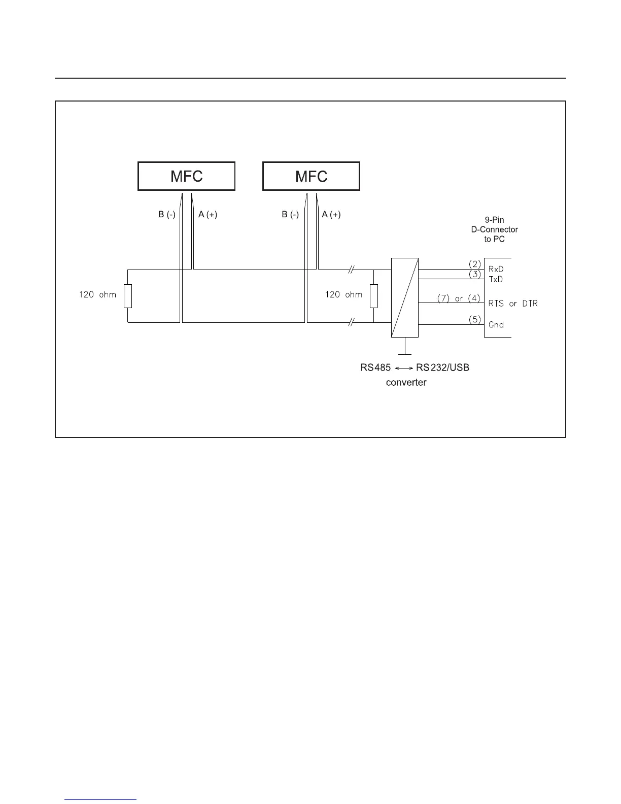
The RS485 is a multidrop connection and allows a maximum of 32 devices
to be connected to a computer system. Personal computers are not
equipped with RS485 ports as standard. An RS232 to RS485 converter or
RS485 interface board is therefore required to connect an RS485 to a
standard PC. Figure 2-4 is an interconnection diagram showing two TMFs
linked to a PC, via RS485 and RS485 to RS232 converter. The RS485 bus,
a daisy-chain network, meaning that the wires are connected at the units
as in Figure 2-4.
Figure 2-4 RS485 Multidrop Interconnection TMFs and PC

Table of Contents

Related product manuals