EasyManua.ls Logo

Cisco NCS-57B1-6D24-SYS - Page 52

Cisco NCS-57B1-6D24-SYS
120 pages
Print Icon
To Next Page IconTo Next Page
To Next Page IconTo Next Page
To Previous Page IconTo Previous Page
To Previous Page IconTo Previous Page
Loading...
M4 x 8-mm Phillips flat
head screws.
2Inner slider member1
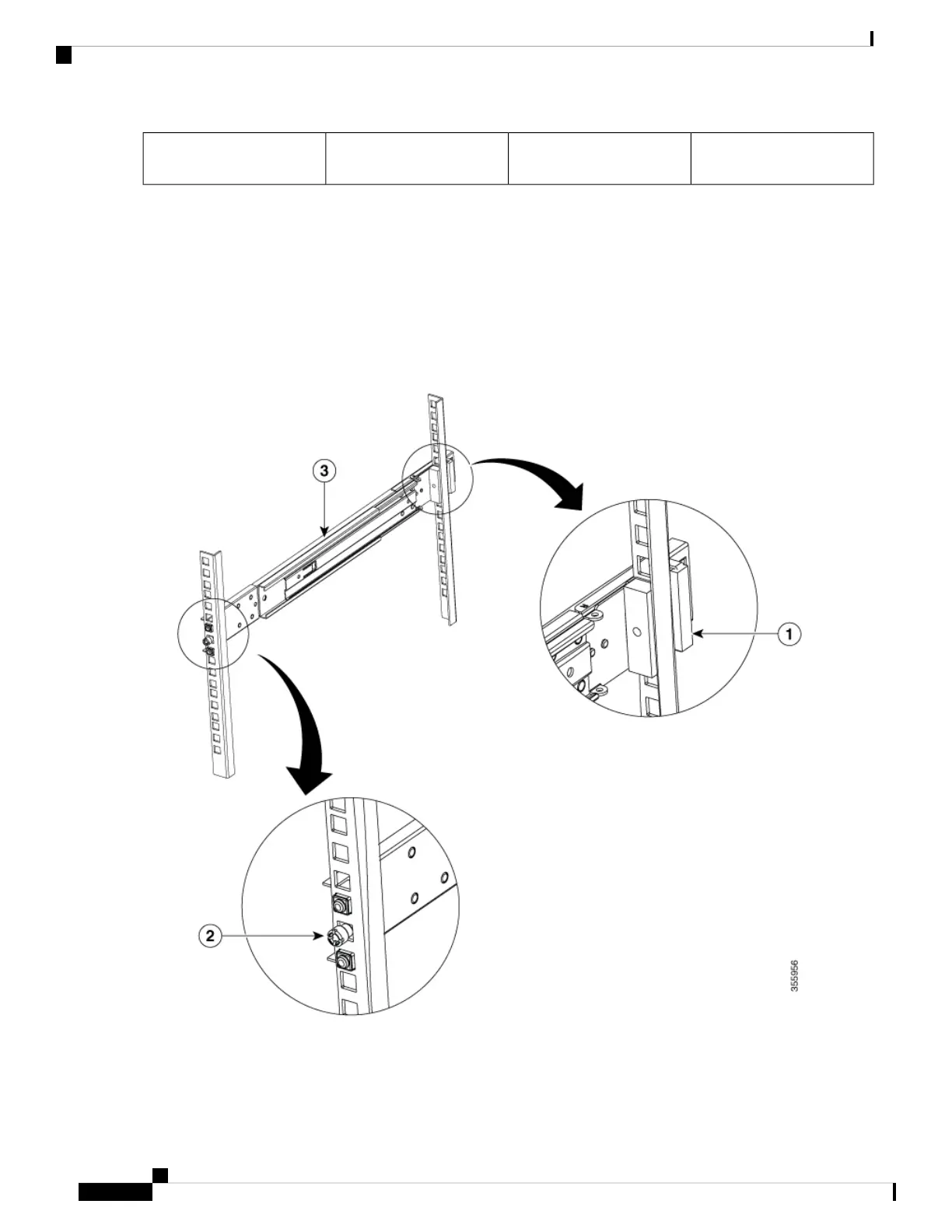
Step 4 Install the outer slider member to the rack:
a. Align the rack mount pins of the outer slider to the rear post rack holes.
If the rack mount pins of the outer slider member do not fit the rack hole dimensions, use the pins that
are provided in the package.
Note
b. (NC55-2RU-ACC-SL1) The front end of the outer slider member passes through the screw holes of the rack and
latches to the rack. See Figure 33: Rear and Front End (NC55-2RU-ACC-SL1) of the Outer Slider Member.
Figure 33: Rear and Front End (NC55-2RU-ACC-SL1) of the Outer Slider Member
Hardware Installation Guide for Cisco NCS 5700 Series Fixed-Port Routers
46
Install the Chassis
Rack Mount the NCS-57C3-MOD Chassis in a 4-Post Rack using Sliders

Table of Contents

Related product manuals