EasyManua.ls Logo

Clear-Com EclipseHX Series - Page 102

Clear-Com EclipseHX Series
145 pages
Print Icon
To Next Page IconTo Next Page
To Next Page IconTo Next Page
To Previous Page IconTo Previous Page
To Previous Page IconTo Previous Page
Loading...
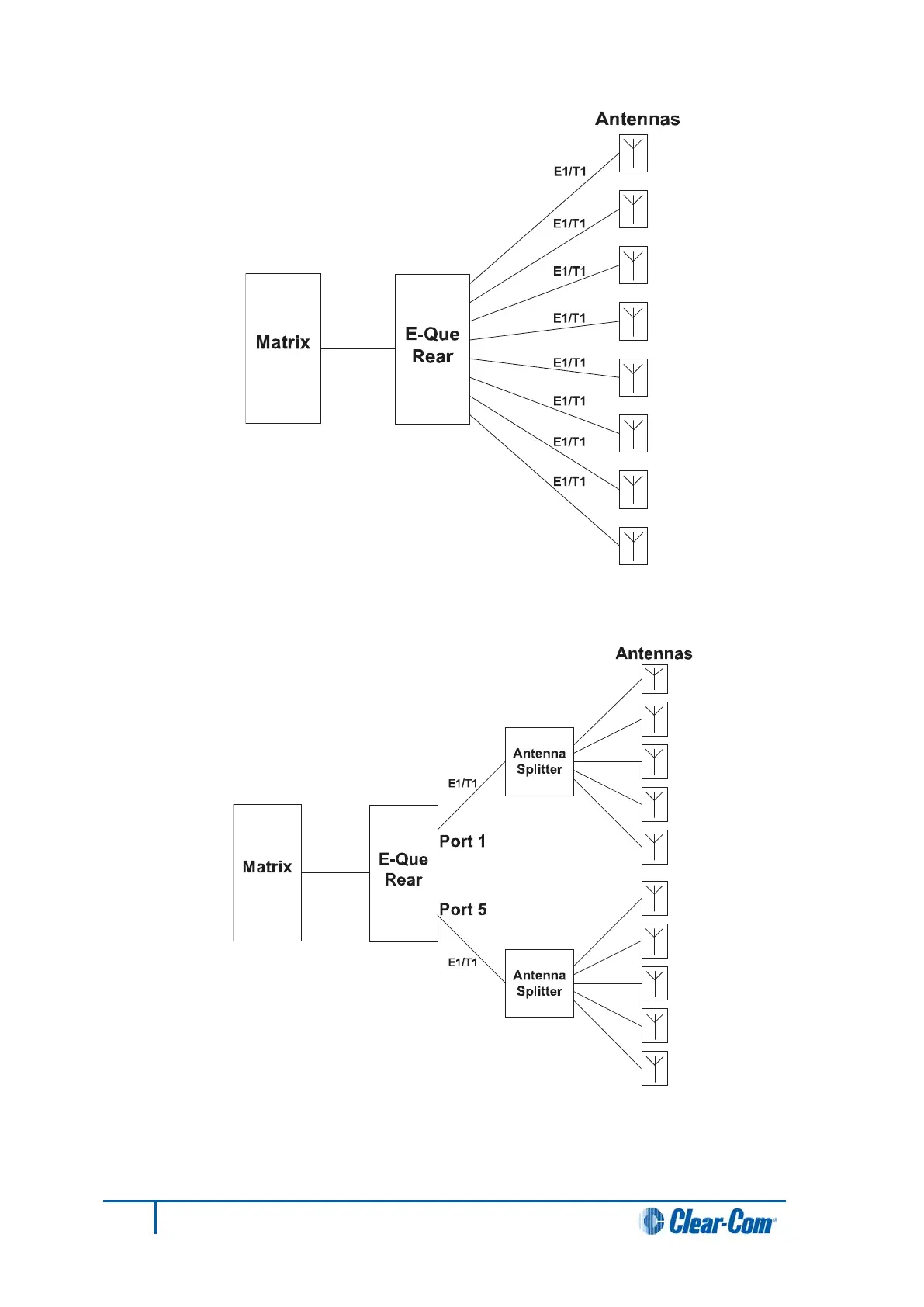
Figure 35: E-QUE card antenna connection
Figure 36: E-QUE card splitter connection
102
Eclipse HX-Median User Guide

Table of Contents

Related product manuals