EasyManua.ls Logo

Cleaver-Brooks CB780 - Page 18

Cleaver-Brooks CB780
61 pages
Print Icon
To Next Page IconTo Next Page
To Next Page IconTo Next Page
To Previous Page IconTo Previous Page
To Previous Page IconTo Previous Page
Loading...
1-14 750-166
CB780/CB784
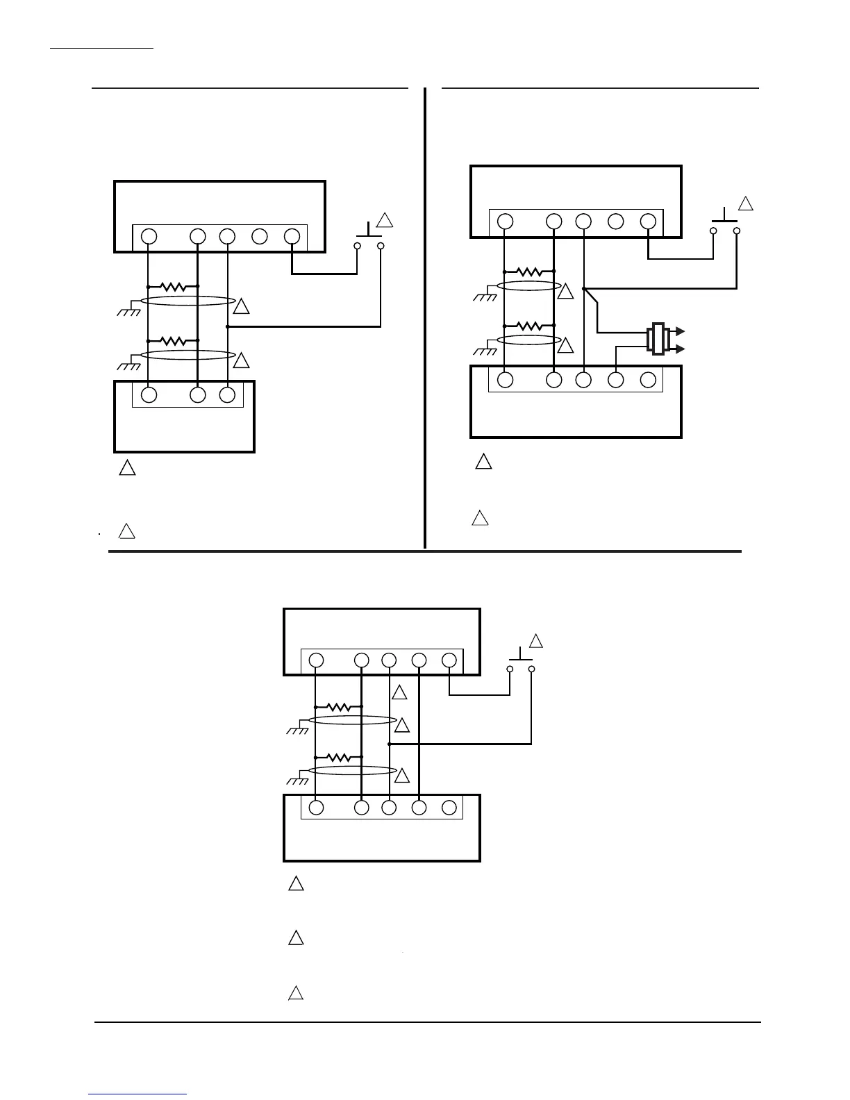
WIRING
L1
(HOT)
L2
1
1
120 OHM
RESISTOR
1
120 OHM
RESISTOR
A
B
A
B
C (GND)
+13 VDC
RESET
C (GND)
+13 VDC
RESET
1
23
4
5
1
23
4
5
MOMENTARY
PUSH BUTTON
SWITCH
833-2727 KEYBOARD DISPLAY MODULE
(MOUNTED ON CB 780/CB 784)
13 VDC
POWER SUPPLY
833-2727 REMOTE KEYBOARD DISPLAY MODULE
THREE WIRE SHIELDED CABLE MAY BE REQUIRED. TWO 120
OHM TERMINATING RESISTORS ARE REQUIRED FOR
CONNECTIONS OVER 100 FEET. CABLE SHIELD MUST BE
TERMINATED TO EARTH GROUND AT BOTH ENDS. IF SHIELDED
CABLE IS NOT USED, TWISTED PAIR WIRE MUST BE USED.
M7409
Fig. 8—Wiring the Keyboard Display Module with
Communication Interface ControlBus Module.
Fig. 9—Wiring multiple Keyboard Display Modules.
Fig. 10—Wiring the Control Bus with remote Keyboard Display Module.
2
2 REMOTE RESET MUST BE MOUNTED WITHIN SIGHT OF
THE BOILER CONTROL PANEL.
2 REMOTE RESET MUST BE MOUNTED WITHIN SIGHT OF
THE BOILER CONTROL PANEL.
1
1
120 OHM
RESISTOR
1
120 OHM
RESISTOR
A
B
A
B
C
C (GND)
+13 VDC
RESET
1
23
4
5
1
23
MOMENTARY
PUSH BUTTON
SWITCH
833-2727 KEYBOARD DISPLAY MODULE
(MOUNTED ON CB 780/CB 784)
833-2734
COMMUNICATIONS
INTERFACE
CONTROLBUS
MODULE
THREE WIRE SHIELDED CABLE MAY BE REQUIRED. TWO 120
OHM TERMINATING RESISTORS ARE REQUIRED FOR
CONNECTIONS OVER 100 FEET (30 METERS). CABLE SHIELD
MUST BE TERMINATED TO EARTH GROUND AT BOTH ENDS.
IF SHIELDED CABLE IS NOT USED, TWISTED PAIR
WIRE MUST BE USED.
M7406
3
2
1
1
2
2
120 OHM
RESISTOR
1
120 OHM
RESISTOR
A
B
A
B
C (GND)
+13 VDC
RESET
C (GND)
+13 VDC
RESET
1
23
4
5
1
23
4
5
MOMENTARY
PUSH BUTTON
SWITCH
833-2729 DATA CONTROLBUS MODULE™
(MOUNTED ON CB 780/CB 784)
833-2727 REMOTE KEYBOARD DISPLAY MODULE
THREE WIRE SHIELDED CABLE MAY BE REQUIRED. TWO 120
OHM TERMINATING RESISTORS ARE REQUIRED FOR
CONNECTIONS OVER 100 FEET. CABLE SHIELD MUST BE
TERMINATED TO EARTH GROUND AT BOTH ENDS. IF SHIELDED
CABLE IS NOT USED, TWISTED PAIR WIRE MUST BE USED.
WHEN CONNECTING THE KEYBOARD DISPLAY MODULE DATA
CONTROLBUS MODULE™, OR REMOTE RESET MODULE
EXTERNAL FROM THE CONTROL CABINET, APPROPRIATE
MEASURES MUST BE TAKEN TO MEET EN60730 SAFETY
LOW VOLTAGE REQURIEMENTS (SEE APPROVALS).
M7407
833-2729 CONTROL BOX (MOUNTED ON CB780/CB784)
CONTROL BUS, OR REMOTE RESET MODULE
3 REMOTE RESET MUST BE MOUNTED WITHIN SIGHT OF
THE BOILER CONTROL PANEL.

Table of Contents