EasyManua.ls Logo

Codonics Safe Label System SLS 550i - Page 59

Default Icon
100 pages
Print Icon
To Next Page IconTo Next Page
To Next Page IconTo Next Page
To Previous Page IconTo Previous Page
To Previous Page IconTo Previous Page
Loading...
NEM.
EKİPMAN DIR-DİR DEĞİL KİME BE KULLANILMIŞ GİBİ Bir BİLEŞEN NIN-NİN Bir
YAŞAM DESTEK SİSTEM.
Hayat destek cihazlar veya sistemleri vardır cihazlar veya sistemleri o destek veya sürdürmek
hayat ve
kimin başarısızlık -e icra etmek Yapabilmek olmak makul beklenen -e sonuç içinde a önemli
yaralanma veya
ölüm -e a kişi. Bir kritik bileşen dır-dir hiç bileşen nın-nin a hayat destek cihaz veya
sistemi kimin başarısızlık -e icra etmek Yapabilmek olmak makul beklenen -e sebep olmak
başarısızlık nın-nin
hayat destek cihaz veya sistem veya -e etkilemek onun Emniyet veya etkililik.
Lazer Uyarı
UYARI Bu cihaz yayar CDRH / IEC Sınıf 2 lazer ve IEC Sınıf 1 milyon ışık. Yapmak değil
bakmak içine kiriş.
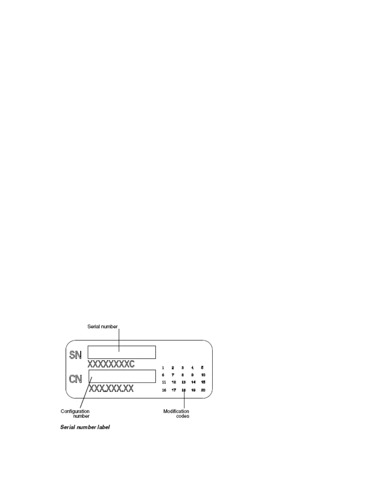
Seri Numara, Yapılandırma, Tarih (değiştir | kaynağı değiştir) Kod, ve
Değişiklik
Kodlar
seri numara etiket dır-dir yerleştirilmiş üstüne Emniyet ve uyma etiket.
seri numara etiket içerir takip etme bilgi:
seri numara (SN), hangi benzersiz şekilde tanımlar birim.
konfigürasyon numara (CN), hangi detaylar inşa etmek yapılandırma.
değişiklikler kodlar, hangi vardır -e sağ nın-nin CN numara ve vardır a
dizi nın-nin 20 sayılar. Ne zaman hiç nın-nin bunlar sayılar vardır bloke dışarı, o
bendişlerini dişileştirmek a değişiklik o oldu yapılmış -e birim.

Table of Contents