EasyManua.ls Logo

Compur Monitors Statox 506 - Setting the Real Time Clock

Compur Monitors Statox 506
34 pages
Print Icon
To Next Page IconTo Next Page
To Next Page IconTo Next Page
To Previous Page IconTo Previous Page
To Previous Page IconTo Previous Page
Loading...
15
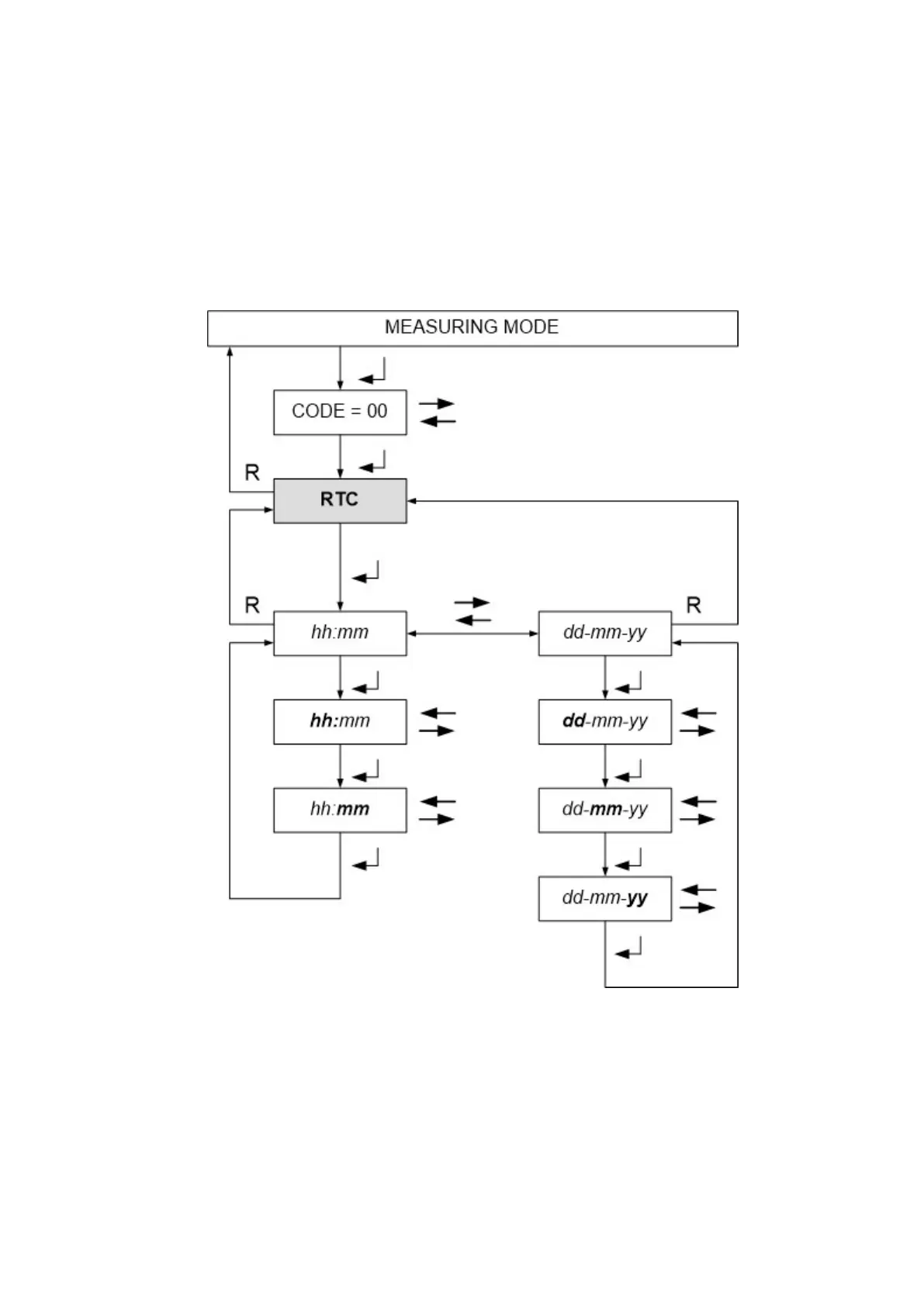
6.2 Setting the Real Time Clock
The real time clock has been set ex-works. Probably you will have to adjust it to your local time. Only
correct clock settings make sure that all alarm and calibration protocols are correct.
The clock is buffered with a battery.
All flashing display segments shown below in bold face are adjustable. Confirm with ENTER.
Time (hour / minute) is displayed in the 24 hour format.
Date is displayed in the format day / month / year.