EasyManua.ls Logo

Compur Monitors Statox 506 - Page 18

Compur Monitors Statox 506
34 pages
Print Icon
To Next Page IconTo Next Page
To Next Page IconTo Next Page
To Previous Page IconTo Previous Page
To Previous Page IconTo Previous Page
Loading...
18
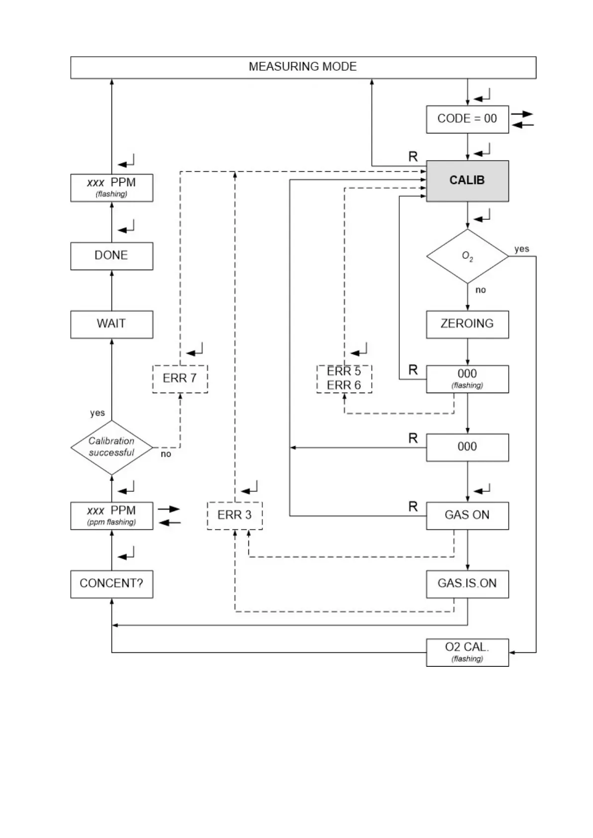
Statox 506 Calibration procedure