EasyManua.ls Logo

Cover Pools Save-T 3 - Excavation and Plumbing Requirements; Underside Track Excavation and Plumbing

Default Icon
20 pages
Print Icon
To Next Page IconTo Next Page
To Next Page IconTo Next Page
To Previous Page IconTo Previous Page
To Previous Page IconTo Previous Page
Loading...
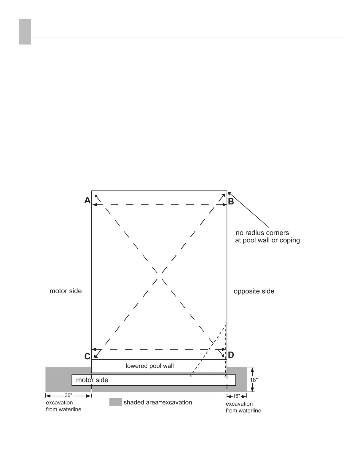
All diagrams are for general information. Consult installation instructions for details.
3
A
B
no radius corners
at pool wall or coping
C
D
excavation
from waterline
motor side
lowered pool wall
shaded area=excavation
opposite side
16"
36"
18"
excavation
from waterline
motor side
Recessed Mechanism—Underside™ Track or Track Channel
1. The tracks (and rectangular pools) must be a true rectangle. The tracks must be
perpendicular to the unit mechanism and recessed housing (90°).
2. Over-dig the recessed cover box end of the pool 18" beyond the forms.
Do not install plumbing within 14" of the deck in the housing area.
3. The motor can be on either end of the cover box.
4. Do not locate skimmers in the lowered pool wall.
5. All corners must be square (no radius) on the finished tile line or the coping.
6. Place 3" drain in floor or wall of recessed housing.
Pool must be square:
AB=CD
AD=CB
EXCAVATION AND PLUMBING
Consider any special requirements for excavation and plumbing.
E
F
G
Track squared to box
or mechanism
GE = 6'
GF = 8'
FE = 10'
2