EasyManua.ls Logo

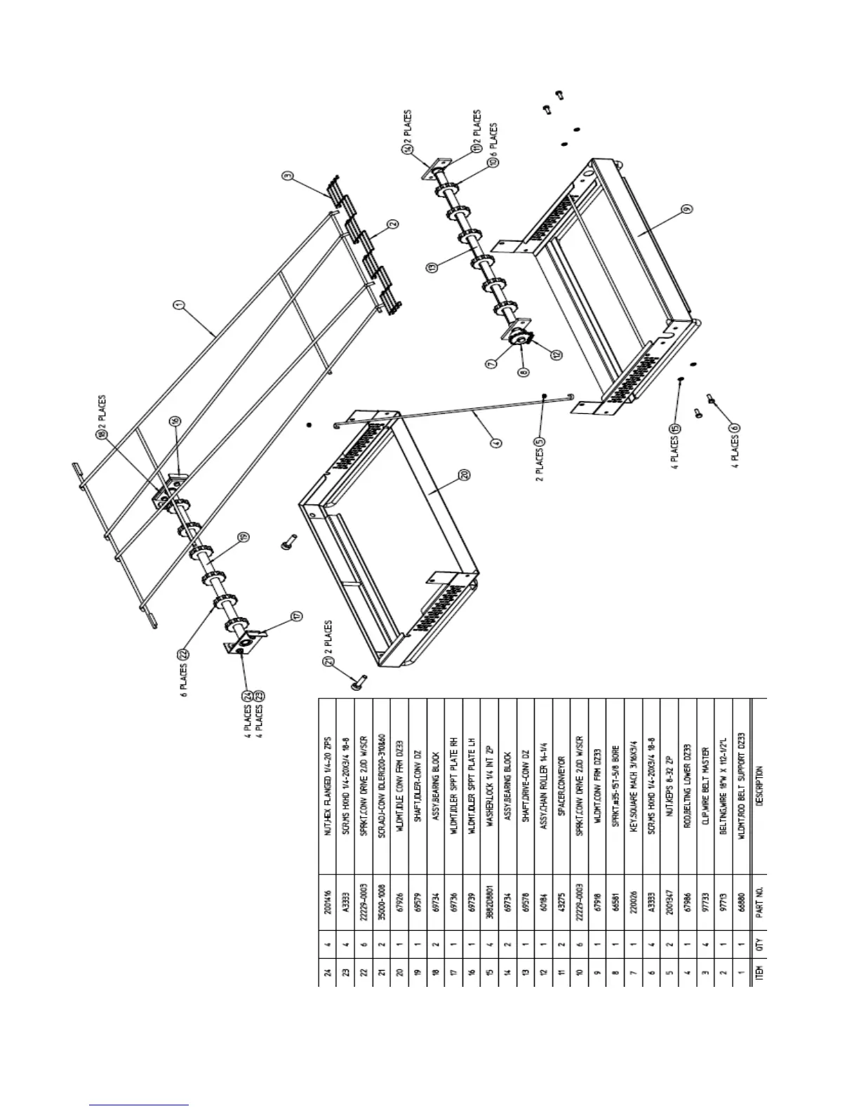
CTX DZ33I - Single Belt Conveyor Parts

CTX DZ33I
53 pages
Print Icon
To Next Page IconTo Next Page
To Next Page IconTo Next Page
To Previous Page IconTo Previous Page
To Previous Page IconTo Previous Page
Loading...
47
Single Belt Conveyor

Related product manuals