Home
D-Link
Enclosure
ShareCenter Pro DNS-1550-04
D-Link ShareCenter Pro DNS-1550-04
163 pages
Manual
To Next Page
To Next Page
To Previous Page
To Previous Page
Loading...
ShareCenter P
ro User Manual
14
Figure
3
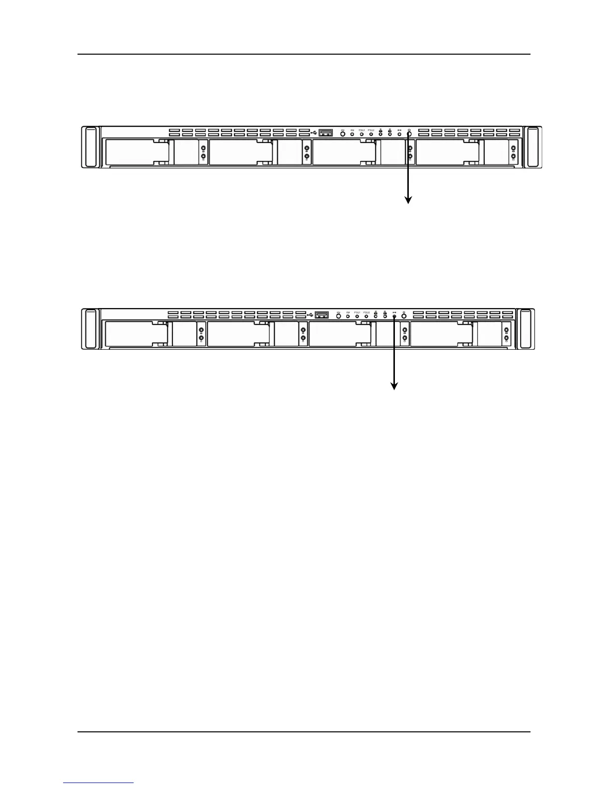
. Press and hold the P
ower button
about
5 seconds
Figure
4
. Sy
stem st
at
us L
ED turns
red,
and
then goes dark
T
o restar
t the
Shar
eCen
ter
®
Pro
DNS
-
1550
-
04, pr
ess
the power
button
again.
Pow
e
r
Button
S
y
stem
Status
LED
13
15
Table of Contents
Main Page
Default Chapter
2
Table of Contents
2
Chapter 1: Introduction
5
About this Manual
5
Protocol Support
6
Hardware Specifications
6
Client Utility os Support
7
Browser Support
7
Chapter 2: Quick Setting-Up
9
Pro DNS-1550-04
9
Installing Disk Drives
10
Connecting the Ethernet Cable
13
Connecting the Power
13
Shutting down the Sharecenter Pro DNS-1550-04
13
Setup Wizard
15
Replacement of Power Supply Units (PSU)
18
Replacement of Control Module
19
Chapter 3: Webpam Proe
20
Quick Start
20
Dashboard Tab
22
System Status
22
Event Information
23
Storage Overview
23
Device Tab
25
Front View
25
Back View
26
Component List
27
Physical Drive
30
Iscsi
31
Network
33
Ups
36
External Drive
36
Storage Tab
38
Create Disk Array
39
Disk Array Management
43
Logical Drive Management
44
Spare Drive Management
47
Admintool Tab
49
System Settings and Clearing Statistics
49
Services
51
Runtime and NVRAM Event Logs
51
Background Activity, Settings and Schedules
54
Firmware Updates
60
Performance Monitor
61
Restore Factory Default Settings
63
Import/Export a System Configuration File
64
Lunmap Management
65
Power Option
66
Message Alert
66
Network Security
67
NAS Tab
70
Setup Wizard
70
User Account Management
72
Protocol Control and Setting
74
File System Management
74
File Sharing Setting
75
Backup
78
Plug-In Management
85
Iscsi Initiator
86
Chapter 4: Sharecenter NAVI
87
Working with Sharecenter NAVI
87
Opening the Main Window
87
Choosing a Sharecenter ® NAVI Language
89
Starting the Advanced Storage Manager
90
Viewing Sharecenter ® NAVI Information
91
Closing Sharecenter
93
Navi
93
Managing Backups
95
Doing a Backup Now
95
Scheduling a Backup
100
Viewing Backup Schedules
105
Changing a Scheduled Backup
105
Deleting a Scheduled Backup
108
Restoring Backed-Up Files
109
Viewing the Backup Event Log
112
Saving the Event Log
113
Clearing the Event Log
115
Setting the Port
116
Managing Share Folders
117
Opening a Share Folder
117
Viewing a List of Share Folders
118
Mounting a Share Folder /Creating a Network Drive
120
Un-Mounting a Share Folder /Disconnecting a Network Drive
121
Setting up a Share Folder for Time Machine
122
Making Management Settings
124
Configuring a NAS System
124
Locating the Sharecenter Pro DNS-1550-04
129
Wake-On-LAN
130
Choosing a Default NAS System
130
Viewing the System Event Log
131
Viewing a List of Plug-Ins
134
Viewing Plug-In Version Numbers
134
Enabling and Disabling Plug-Ins
135
Removing Plug-Ins
138
Rebooting the Sharecenter Pro DNS-1550-04
139
Shutting down the Sharecenter Pro DNS-1550-04
141
Chapter 5: Troubleshooting
143
Webpam Proe System Event Log
143
How to Use USB Retrieval to Export System Information
154
Chapter 6: Warranty
155
Chapter 7: Tech Support
162
Chapter 8: Registration
163
Related product manuals
D-Link DNS-327L
477 pages