EasyManua.ls Logo

Da-Lite Cosmopolitan Electrol - 120 V Wiring Diagram

Da-Lite Cosmopolitan Electrol
16 pages
Print Icon
To Next Page IconTo Next Page
To Next Page IconTo Next Page
To Previous Page IconTo Previous Page
To Previous Page IconTo Previous Page
Loading...
6
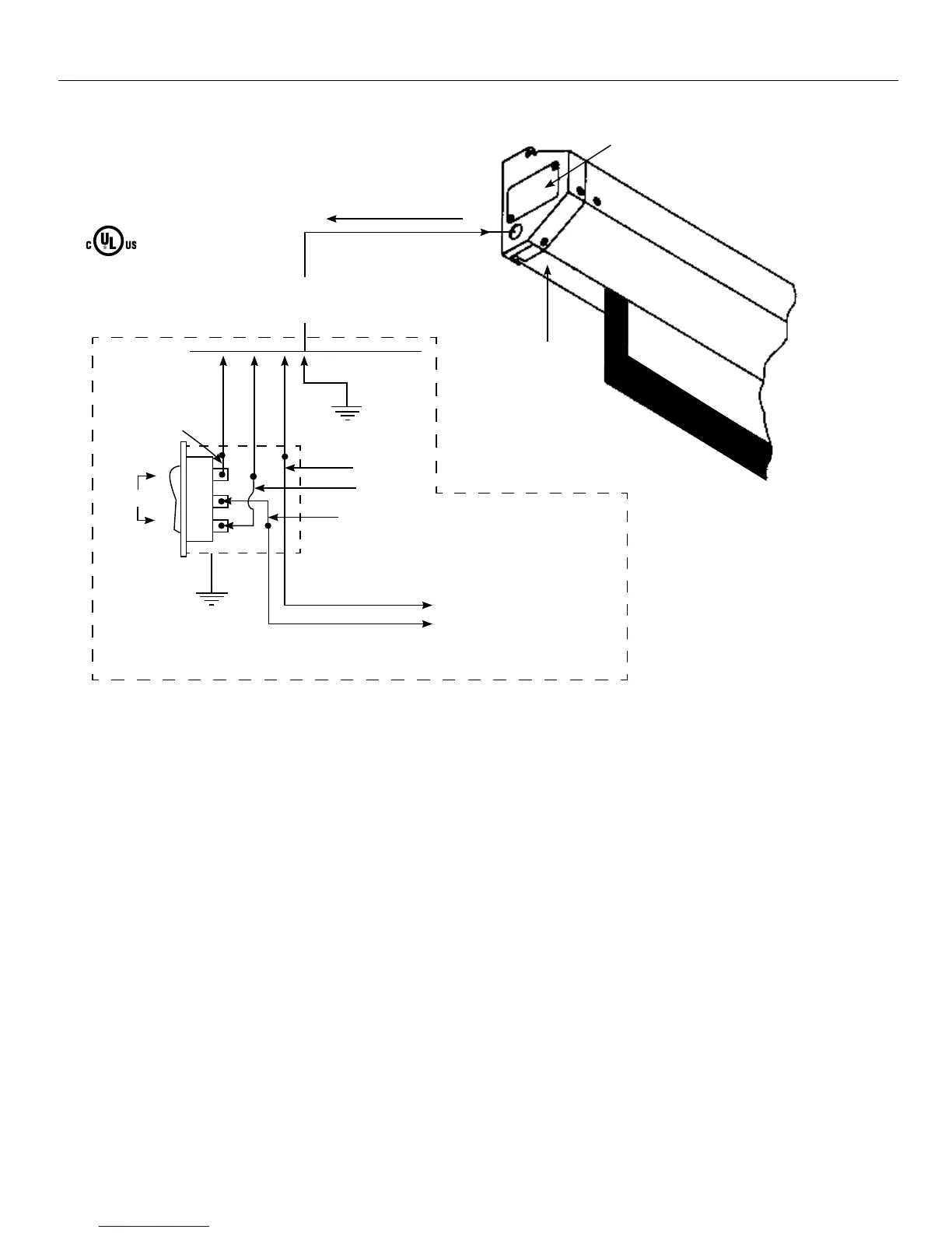
120V Wiring Diagram
Side View
Of Switch
And Box
This Switch Cannot Be Used With LVC.
NOTE: A single switch cannot be used to operate more than one
screen. Contact the factory for further information.
Down Black
Black
Up
White
Red
Down
AC Hot
Of
Common
White
Black With
Yellow
Up Red
Rocker
Switch
AC Common
120 V. 60 Hz. 2.5 Max. Amp
Operating Switch
And Plate Furnished
With Screen (SPDT
With Center Of)
In Multiple Control
Installations This
Switch Is Replaced By
The Low Voltage
Control, Operated
From Push Button
Stations.
To Junction Box, Mounted In Screen Case,
In Which Internal Wiring Terminates In
White, Black and Red Leads
Down
White Limit
Switch
Adjustment
Wiring Enclosure Cover

Related product manuals