EasyManua.ls Logo

Dacor ERSD - Ehdr, Ilb8

Dacor ERSD
159 pages
Print Icon
To Next Page IconTo Next Page
To Next Page IconTo Next Page
To Previous Page IconTo Previous Page
To Previous Page IconTo Previous Page
Loading...
Technical Manual - Page 132
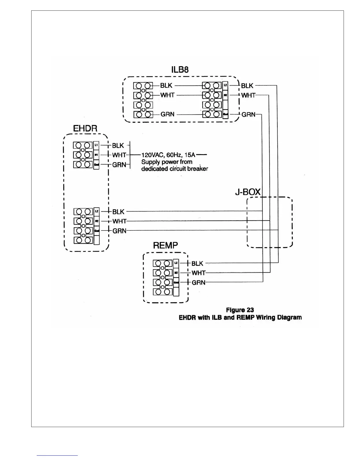
EHDR, ILB8

Table of Contents

Related product manuals