EasyManua.ls Logo

Danfoss VLT FC 100 - Page 18

Danfoss VLT FC 100
134 pages
Print Icon
To Next Page IconTo Next Page
To Next Page IconTo Next Page
To Previous Page IconTo Previous Page
To Previous Page IconTo Previous Page
Loading...
FC 302 N200 N250 N315
High/Normal Load* HO NO HO NO HO NO
Typical Shaft output at 550 V [kW] 160 200 200 250 250 315
Typical Shaft output at 575 V [hp] 250 300 300 350 350 400
Typical Shaft output at 690 V [kW] 200 250 250 315 315 400
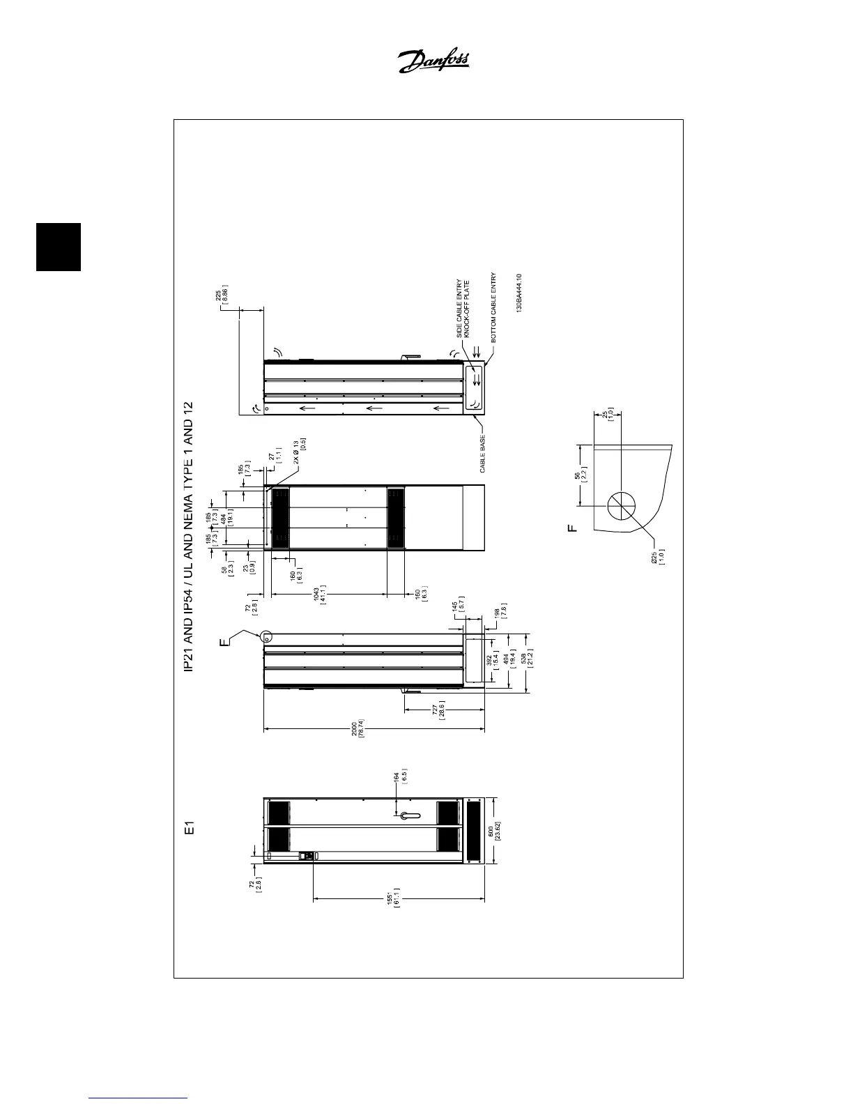
Enclosure IP21 D2h D2h D2h
Enclosure IP54 D2h D2h D2h
Enclosure IP20 D4h D4h D4h
Output current
Continuous (at 550 V) [A] 253 303 303 360 360 418
Intermittent (60 s overload) (at 550 V) [A] 380 333 455 396 540 460
Continuous (at 575/690 V) [A] 242 290 290 344 344 400
Intermittent (60 s overload) (at 575/690 V) [kVA] 363 319 435 378 516 440
Continuous kVA (at 550 V) [kVA] 241 289 289 343 343 398
Continuous kVA (at 575 V) [kVA] 241 289 289 343 343 398
Continuous kVA (at 690 V) [kVA] 289 347 347 411 411 478
Max. input current
Continuous (at 550 V) [A] 245 299 299 355 355 408
Continuous (at 575 V) [A] 234 286 286 339 339 390
Continuous (at 690 V) 240 296 296 352 352 400
Max. cable size: line power, motor, brake and load share
[mm
2
] (AWG)
2x185 (2x350)
Max. external electrical fuses [A] 550
Estimated power loss at 575 V [W] 3012 3723 3642 4465 4146 5028
Estimated power loss at 690 V [W] 3123 3851 3771 4614 4258 5155
Weight, enclosure IP21, IP54 kg (lbs) 125 (275)
Weight, enclosure IP20 kg (lbs) 125 (275)
Efficiency 0.98
Output frequency 0–590 Hz
Heatsink overtemperature trip 230°F [110°C]
Control card ambient trip 167°F [75°C]
*High overload=150% current for 60 s, Normal overload=110% current for 60 s.
Table 1.14 Line Power Supply 3 x 525–690 V AC
The typical power loss is at nominal load conditions and expected to be within ±15% (tolerance relates to variety
in voltage and cable conditions).
The losses are based on the default switching frequency. The losses increase significantly at higher switching
frequencies.
The options cabinet adds weight to the adjustable frequency drive. The maximum weights of the D5h–D8h frames
is shown in the instruction manual.
Introduction Service Manual
16 Danfoss A/S © Rev. 2014-02-10 All rights reserved. MG94A222
1
1

Table of Contents

Related product manuals