EasyManua.ls Logo

Deif MIB 7000 - Page 24

Deif MIB 7000
50 pages
Print Icon
To Next Page IconTo Next Page
To Next Page IconTo Next Page
To Previous Page IconTo Previous Page
To Previous Page IconTo Previous Page
Loading...
MIB Installation Instructions and Reference Handbook
DEIF A/S
Page 24 of 50
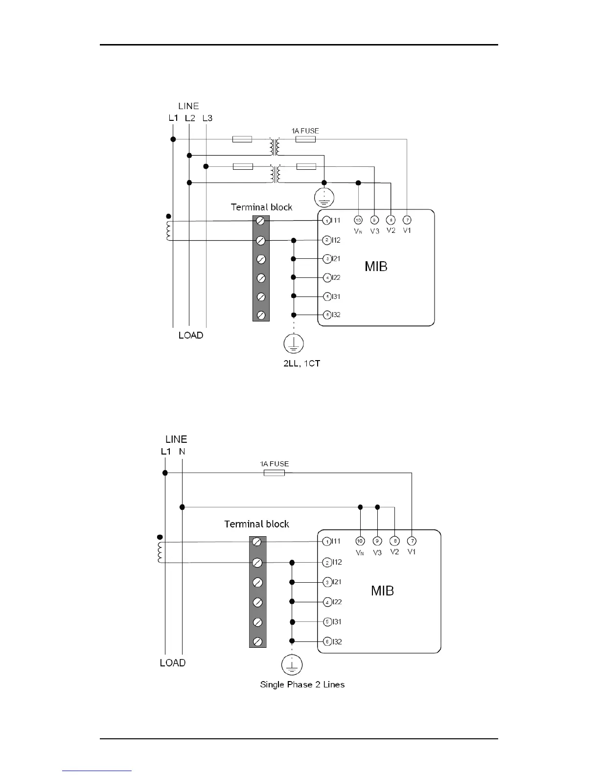
2LL, 1CT: Selected wire mode 2LL, 1CT
1LN, 1CT: Selected wire mode 1LN, 1CT

Related product manuals