EasyManua.ls Logo

Despatch MIC 1422 - Output Connections

Despatch MIC 1422
91 pages
Print Icon
To Next Page IconTo Next Page
To Next Page IconTo Next Page
To Previous Page IconTo Previous Page
To Previous Page IconTo Previous Page
Loading...
17
2.5 Output Connections
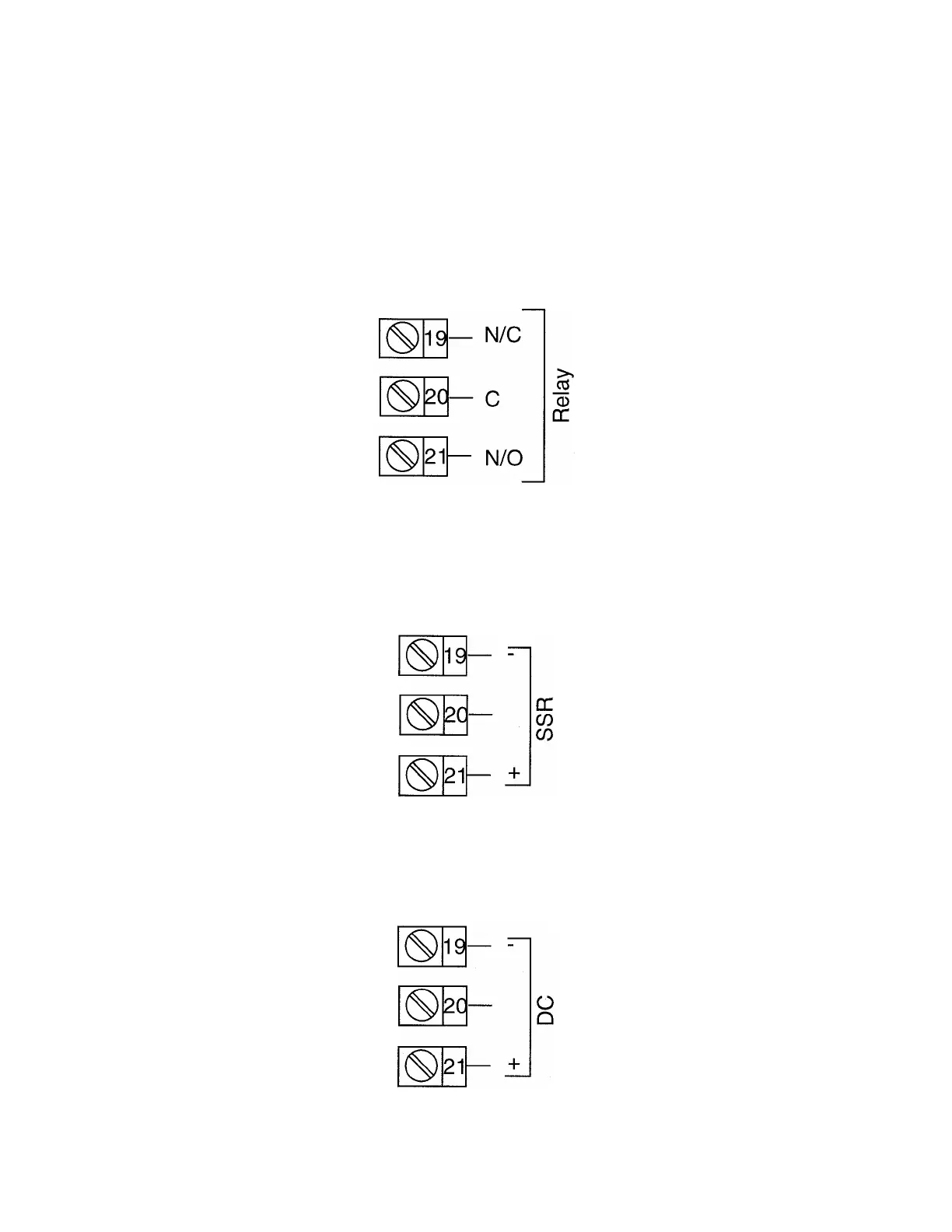
FIGURE 2-15
Relay Output 1 (Control Output 1)
Connections are made to Output 1 relay as illustrated below. The contacts
are rated at 2 amp resistive, 120/240 VAC.
FIGURE 2-16
SSR Driver Output 1 (Control Output 1)
Connections are made to Output 1 SSR Driver as illustrated below. The solid state
relay driver is a non-isolated 0-4 VDC nominal signal. Output impedance is 250 ohms.
FIGURE 2-17
mADC Output 1 (Control Output 1)
Make connections for DC Output 1 as illustrated below.

Table of Contents

Related product manuals