EasyManua.ls Logo

DIMA HC-100 - Advanced Power LED Controller EL-04872

DIMA HC-100
174 pages
Print Icon
To Next Page IconTo Next Page
To Next Page IconTo Next Page
To Previous Page IconTo Previous Page
To Previous Page IconTo Previous Page
Loading...
Chapter 8 HYBRID Coater Service Manual ver1.1
66
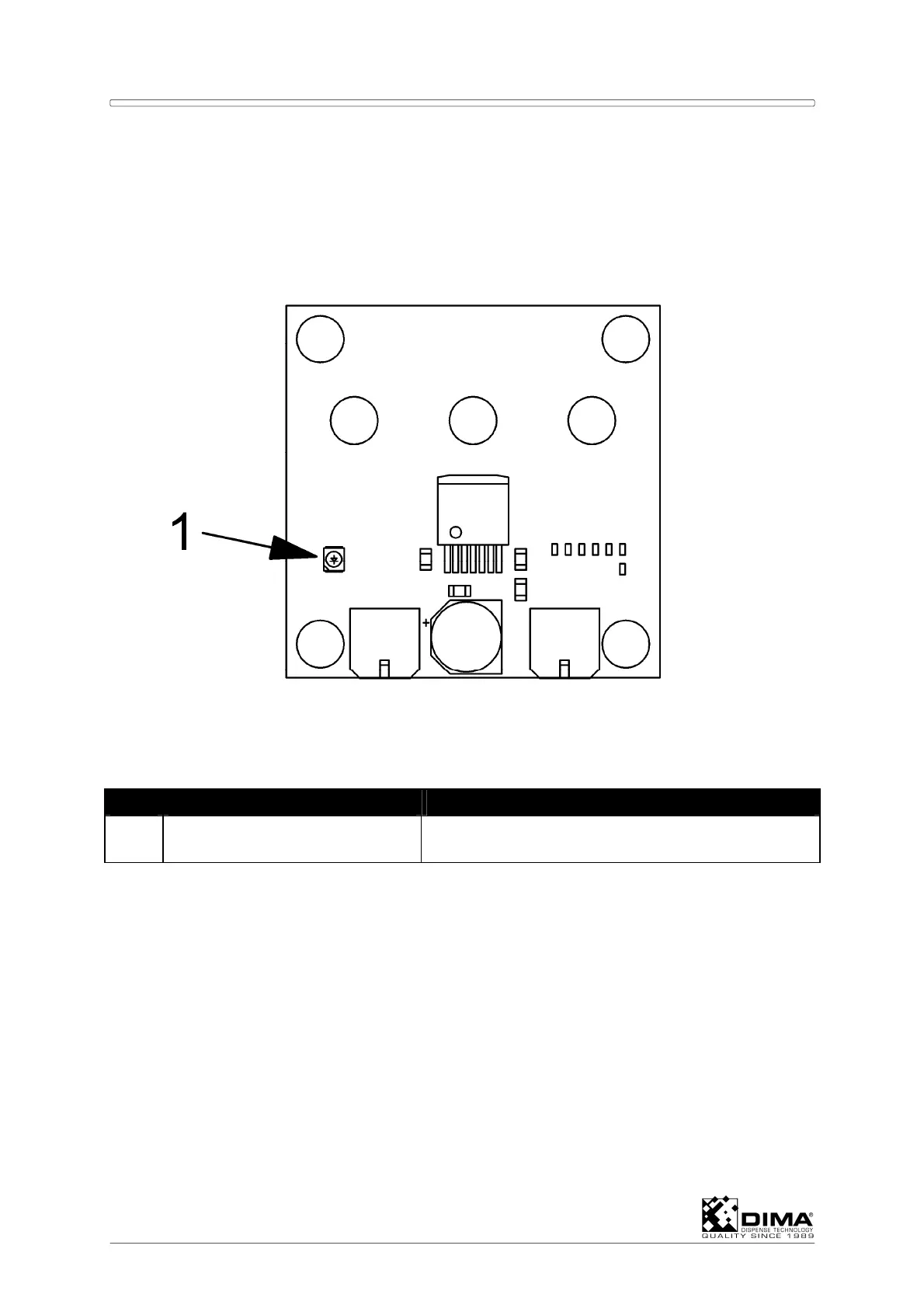
8.3 Advanced Power LED Controller EL-04872
One of these PCB’s is present on the machine with bright light upgrade. This PCB is located
to the left of the large EL-04873 Controller. This PCB refers to the illumination of the camera.
LED Used for State
1 24 Volt Indication Must be ON! If this indication is OFF check fuses
and power.

Table of Contents

Related product manuals