EasyManua.ls Logo

dixell iCHILL IC200CX - Digital Inputs Connection

dixell iCHILL IC200CX
40 pages
Print Icon
To Next Page IconTo Next Page
To Next Page IconTo Next Page
To Previous Page IconTo Previous Page
To Previous Page IconTo Previous Page
Loading...
1592022760 Quick reference guide iCHILL 200CX EVO rel. 1.0 29/40
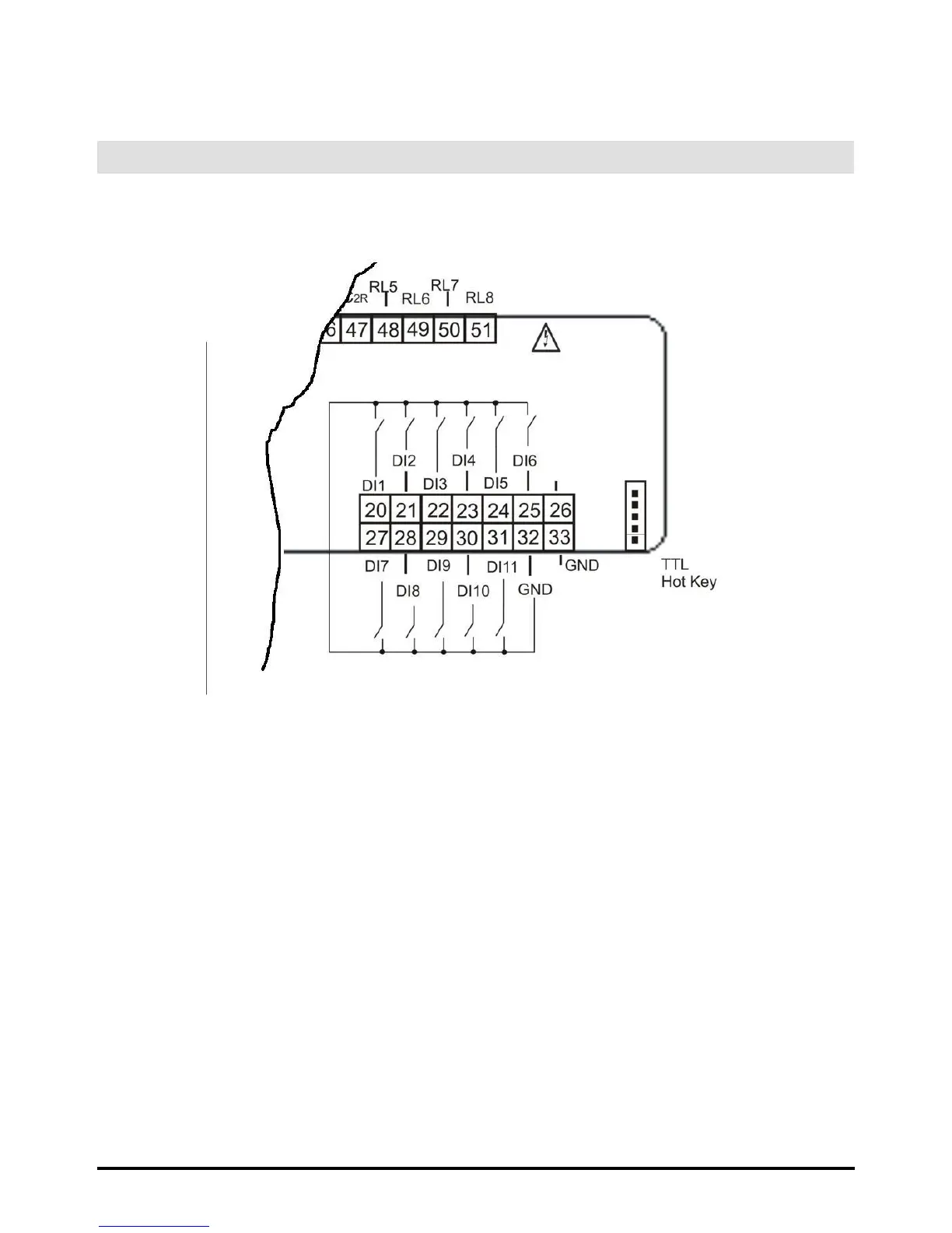
16.3 DIGITAL INPUTS
GND = common terminal
ID1…ID11 = digital inputs

Table of Contents

Related product manuals