EasyManua.ls Logo

Dorma ED100 - User Interface Operation; Four Button Keypad Functions

Dorma ED100
42 pages
Print Icon
To Next Page IconTo Next Page
To Next Page IconTo Next Page
To Previous Page IconTo Previous Page
To Previous Page IconTo Previous Page
Loading...
DORMA AUTOMATICES, Inc. 924 Sherwood Drive Toll-Free: 877-367-6211 Subject to change without notice
DL3463-050 08/2016 Lake Bluff, IL 60044 Fax: 847-249-3999
ED100 / ED250 SERVICE MANUAL
13
> 3s Reset
< 3s Quit
> 3s
PRG
< 3s
LEARN
Fact-Setup
> 3s
> 8s
Button legend
User interface: RH door
Information display
Internal program switch - 2 pole
4 button keypad
2 digit display
Internal program switch - 3 pole
> 3s Reset
< 3s Quit
LEARN
< 3s
> 3s
Fact-Setup
PRG
> 3s
> 8s
User interface: LH door
Button legend
Information display
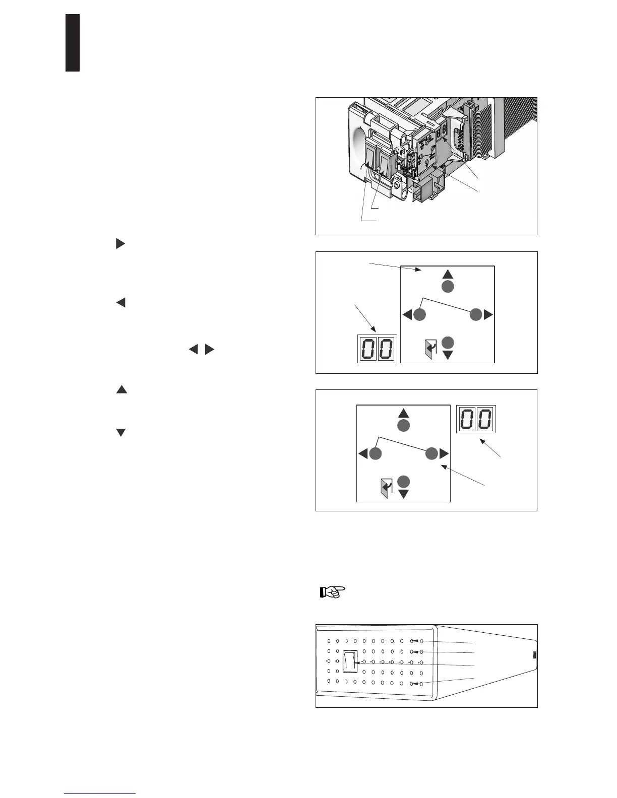
7 User interface
Operator is equipped with a user interface to input and adjust
door parameters (Section 17), and to display information and
error codes (Section 18). User interface consists of:
Four button keypad
2 digit information display
Four button keypad
Button functions are adapted to installation orientation of
operator; each of the 4 buttons always has same function
according to how buttons are arranged.
Button legend can be removed and rotated.
Buttons perform the following functions:
Right
Call up parameter menu – press button > 3s PRG.
Change selected parameter.
Save changed value.
Left
Cancel parameter change process.
Exit parameter menu – press button < 3s Quit.
Left and right together
Acknowledge errors – press both buttons < 3s.
Reset – press both buttons > 3s.
Up
Scroll through parameters and error messages.
Increase parameter value.
Down
Scroll through parameters and error messages.
Decrease parameter value.
Opening pulse – press button < 3 seconds.
Learning cycle – press button >3s LEARN,
program switches off.
Reset with factory setting – press button > 8s Fact-Setup,
program switches off.
Reference Section 18, SL parameter - Factory setting
level.
Adjust direction of installation following a power off/on
reset.
Status LEDs on power switch side of operator
Red LED: Blinking codes are used to indicate "ln __"
information or certain error codes "E _ _".
Details on each display code, or LED status, can be
found in troubleshooting chart in Section 19.
Yellow LED: Maintenance interval indicator. When
illuminated, it is an indication operator system has to be
serviced. Maintenance interval is adjustable by DORMA
service.
Green LED: ON – Indicates internal 24VDC power on.
OFF – Indicates internal 24VDC power off.
Green
Power switch
Yellow
Red
Refer to first commissioning section in single or
double door installation manuals for display format
orientation.
2-digit information display
Display is configured during commissioning so that numbers
and digits are displayed correctly without regard to installation
orientation.

Related product manuals