EasyManua.ls Logo

Dormakaba DB25K - 3.5 Dimensions

Dormakaba DB25K
20 pages
Print Icon
To Next Page IconTo Next Page
To Next Page IconTo Next Page
To Previous Page IconTo Previous Page
To Previous Page IconTo Previous Page
Loading...
Operating Manual Product description
WN 60425 45532/16458 - 08/2022 Solenoid Drop Bolt with manual Key Override 7
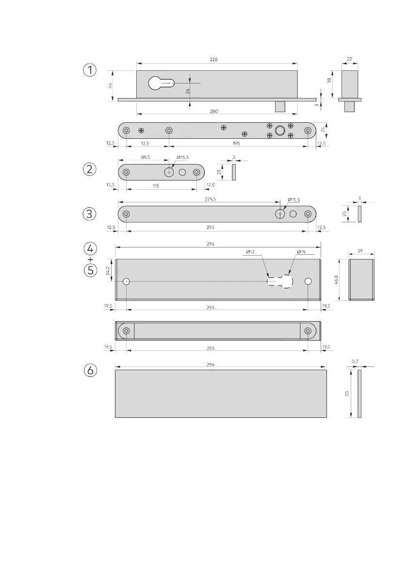
3.5 Dimensions
Fig.2: Lock - dimensions
1 Dimensions lock 4 Dimensions latch housing (accessories)
2 Dimensions short striking plate 5 Dimensions of striker housing
(accessories)
3 Dimensions long striking plate
(accessories)
6 Dimensions cover plate (accessories)

Related product manuals