EasyManua.ls Logo

Dyna-Glo DGSS1382VCS - Assembly Instructions - Stack and Damper; Smoke Stack and Sausage Hooks; Smoke Stack Damper Setup

Dyna-Glo DGSS1382VCS
75 pages
Print Icon
To Next Page IconTo Next Page
To Next Page IconTo Next Page
To Previous Page IconTo Previous Page
To Previous Page IconTo Previous Page
Loading...
11
ASSEMBLY INSTRUCTIONS
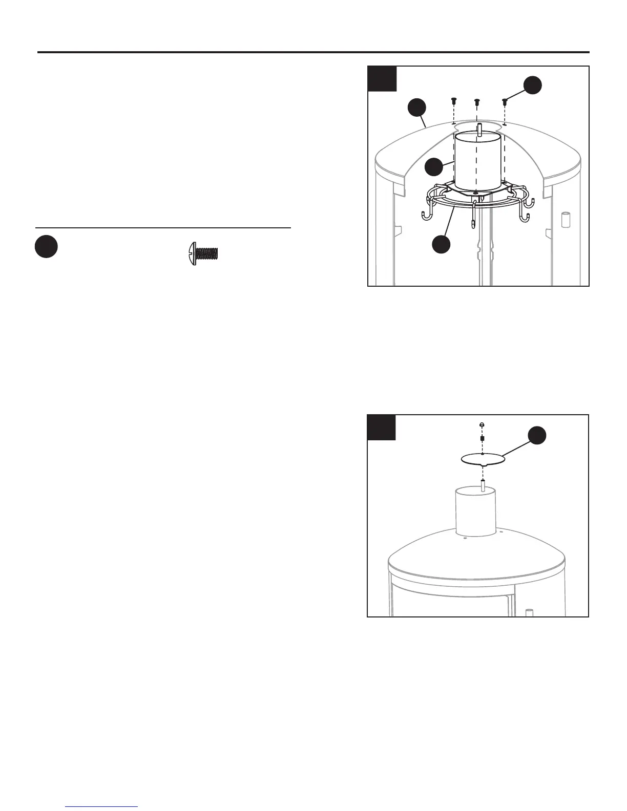
11. Rest the inner ring of the sausage hooks (C) on
the bottom brackets of the smoke stack (Z). Insert
the smoke stack (Z) up through the opening at the
top of the smoker body (A) and secure with three
M6 x 12 bolts (BB).
12. Attach the smoke stack damper (A1) using the
preinstalled spring and nut.
Z
A1
C
11
12
Hardware Used
BB
M6 x 12mm
Bolt
x 3
BB
A

Related product manuals