EasyManua.ls Logo

Dyna-Glo DGSS1382VCS - Page 32

Dyna-Glo DGSS1382VCS
75 pages
Print Icon
To Next Page IconTo Next Page
To Next Page IconTo Next Page
To Previous Page IconTo Previous Page
To Previous Page IconTo Previous Page
Loading...
32
INSTRUCTIONS D’ASSEMBLAGE
3. MISE EN GARDE : Cet appareil est
LOURD! N’essayez pas de déposer le
fumoir sur le côté sans aide!
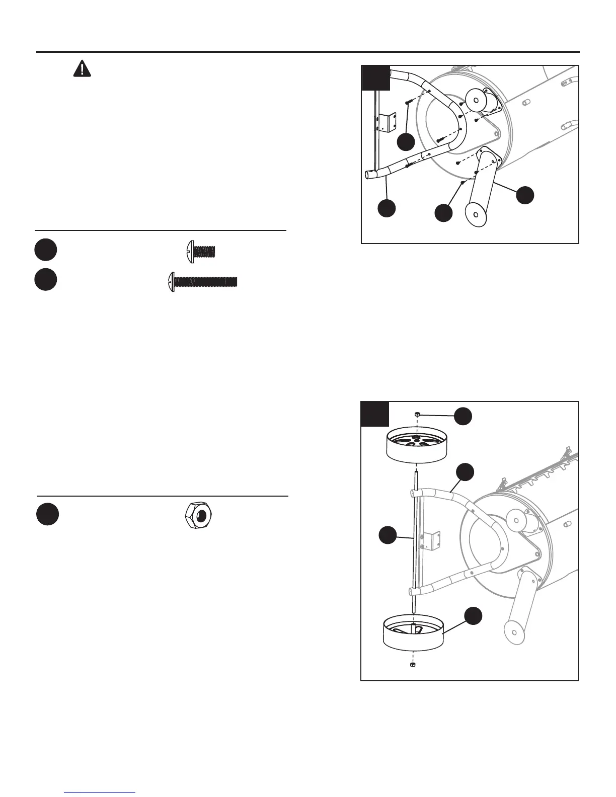
Fixez les pieds de droite avant et arrière (M) à
l’aide de trois (3) boulons M6 x 12 mm (BB) par
pied. Fixez l’assemblage du pied gauche (I) à
l’aide de trois (3) boulons M6 x 45 mm (CC).
4. Insérez l’axe de roue (N) dans les trous de
l’assemblage du pied gauche (I) et xez les
roues de gauche et de droite (H) à l’aide d’un (1)
écrou M12 (EE) de chaque côté.
I
N
M
I
CC
EE
3
4
Matériel utilisé
CC
Boulon
M6 x 45 mm
x 3
Matériel utilisé
EE
Écrou M12
x 2
BB
H
BB
Boulon
M6 x 12 mm
x 6

Related product manuals