EasyManua.ls Logo

Dyna-Glo DGSS1382VCS - Page 61

Dyna-Glo DGSS1382VCS
75 pages
Print Icon
To Next Page IconTo Next Page
To Next Page IconTo Next Page
To Previous Page IconTo Previous Page
To Previous Page IconTo Previous Page
Loading...
61
INSTRUCCIONES DE ENSAMBLAJE
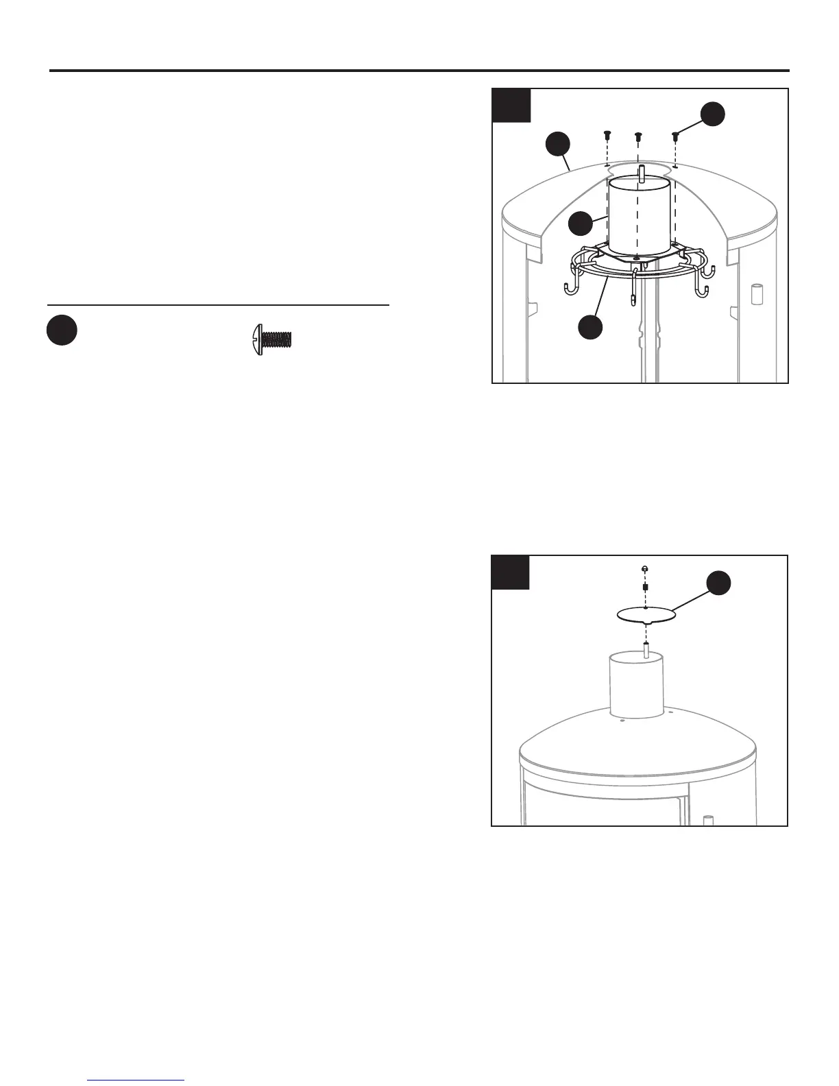
11. Apoye el aro interno de los ganchos para
salchichas (C) en las abrazaderas inferiores
de la chimenea (Z). Inserte la chimenea (Z) en
la apertura de la parte superior de la estructura
del ahumador (A) y fíjela con tres pernos
M6 × 12 (BB).
12. Coloque el regulador de tiro de la chimenea (A1)
utilizando el resorte y la tuerca preinstalados.
Z
A1
C
11
12
Herramientas y tornillería utilizadas
BB
Perno
M6 × 12 mm
× 3
BB
A

Related product manuals