EasyManua.ls Logo

Dyna-Glo DGSS1382VCS - Assembly Instructions - Legs and Wheels; Leg Assembly Procedure; Wheel Attachment

Dyna-Glo DGSS1382VCS
75 pages
Print Icon
To Next Page IconTo Next Page
To Next Page IconTo Next Page
To Previous Page IconTo Previous Page
To Previous Page IconTo Previous Page
Loading...
7
ASSEMBLY INSTRUCTIONS
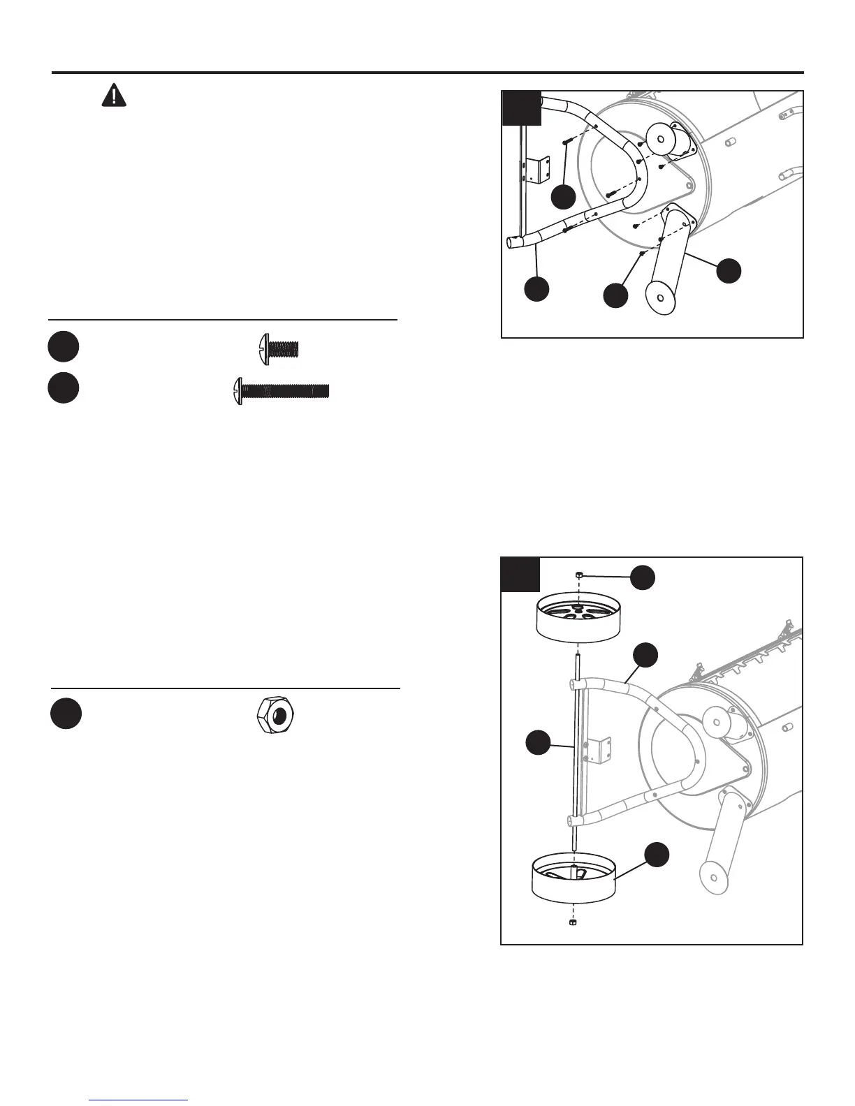
3. CAUTION: This unit is HEAVY! Do not
attempt to lay the unit on its side without
assistance!
Attach the right front and right rear legs (M) using
three M6 x 12 bolts (BB) per leg. Attach the left leg
assembly (I) using three M6 x 45 bolts (CC).
4. Insert the wheel axle (N) through the holes on the
left leg assembly (I) and attach the left and right
wheel (H) using one M12 nut (EE) per side.
I
N
M
I
CC
EE
3
4
Hardware Used
CC
M6 x 45mm
Bolt
x 3
Hardware Used
EE
M12 Nut
x 2
BB
H
BB
M6 x 12mm
Bolt
x 6

Related product manuals