EasyManua.ls Logo

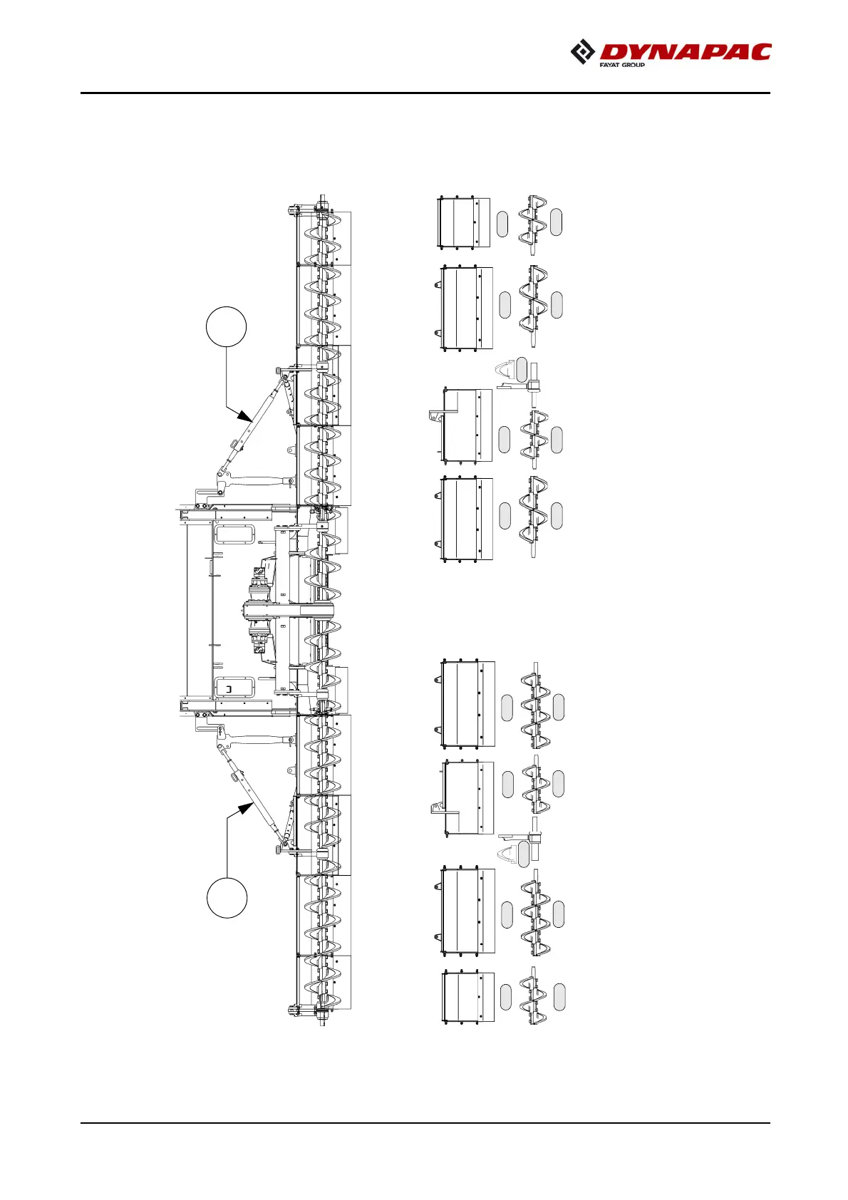
Dynapac SD2550C - Auger upgrading, working width 9.54 m

Dynapac SD2550C
468 pages
Print Icon
To Next Page IconTo Next Page
To Next Page IconTo Next Page
To Previous Page IconTo Previous Page
To Previous Page IconTo Previous Page
Loading...
E 11 19
Auger upgrading, working width 9.54 m
m
m
960 BR
640 R
160R
960 R
960
960 L
960
160 L
640 L
960 BL
960 L
960
960 R
960
640
640 L
640
640 R

Table of Contents

Related product manuals