EasyManua.ls Logo

EKOM DK50 2V/50 - Page 67

EKOM DK50 2V/50
164 pages
Print Icon
To Next Page IconTo Next Page
To Next Page IconTo Next Page
To Previous Page IconTo Previous Page
To Previous Page IconTo Previous Page
Loading...
PRODUKTBESCHREIBUNG
06/2020 67 NP-DK50 2V 50, 2x2V 110-A-5_06-2020-MD
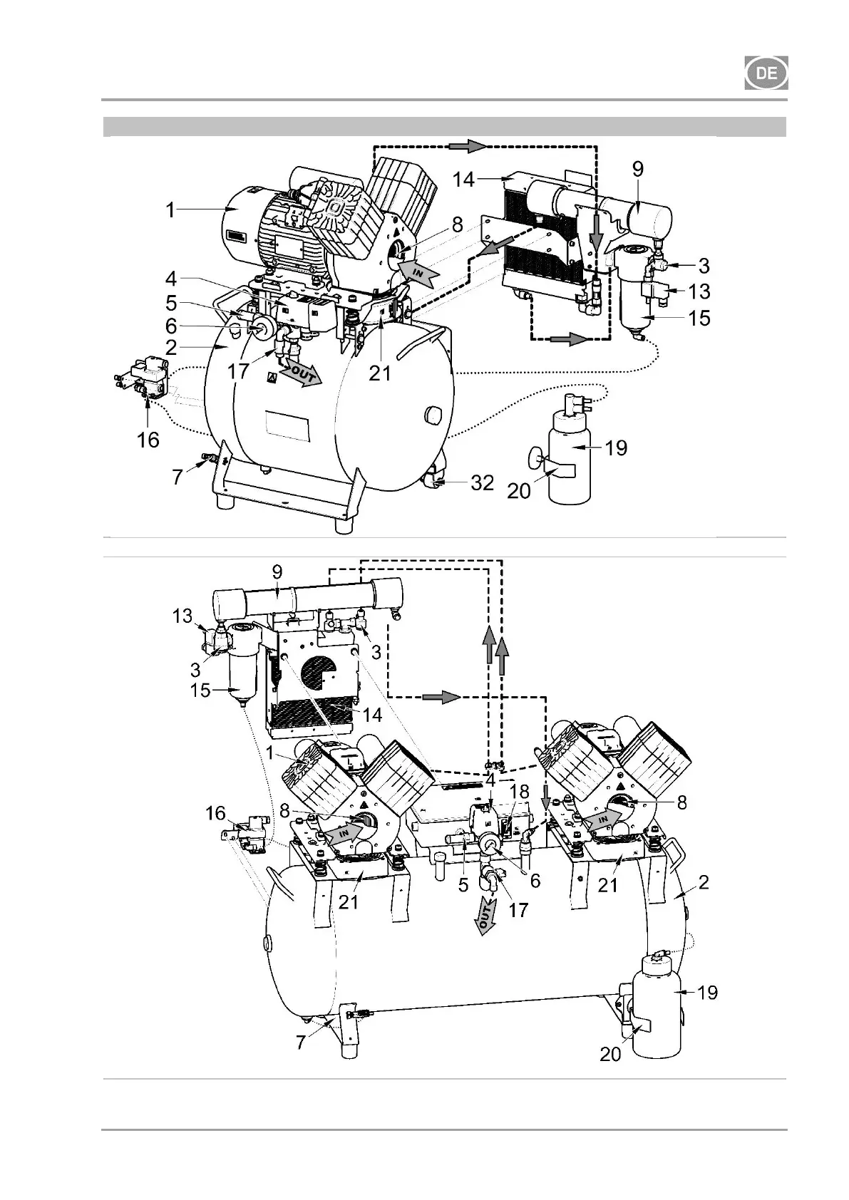
Abb. 2: Kompressor mit Trockner MD
DK50 2V/50/M
DK50 2x2V/110/M

Table of Contents

Other manuals for EKOM DK50 2V/50

Related product manuals