EasyManua.ls Logo

Electrolux WMD1050 - Operation Principle

Electrolux WMD1050
36 pages
Print Icon
To Next Page IconTo Next Page
To Next Page IconTo Next Page
To Previous Page IconTo Previous Page
To Previous Page IconTo Previous Page
Loading...
- 10 -
11.2003 R.K. 599 518 544
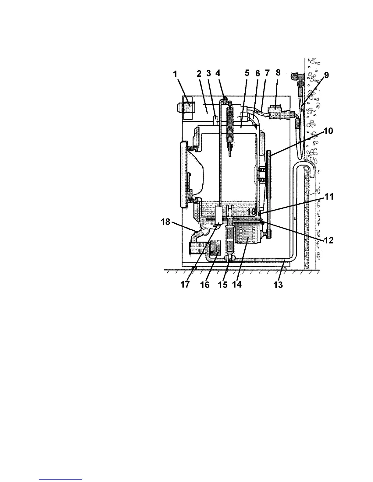
OPERATION PRINCIPLE
Traditional washing
Operation
1 Electronic module
2 Detergent hatch
3 Vent hose
4 Level regulator
5 Outer drum
6 Hose water/detergent inlet
7 Hose inlet valve/detergent hatch
8 Inlet valve
9 Water supply hose
10 Pulley wheel
11 Thermostat/NTC
12 Heating element
13 Drainage hose
14 Motor
15 Shock absorber
16 Drainage pump
17 Air chamber (air trap)
18 Bottom hose
- The partides of soiling substances which are freed from the textile fibres by the chemical action of the detergent
at the temperature of the washing water are re-moved by the flow of water through the fibres.
- The reversing rotation ofthe drum causes mechamcal interaction between the parts ofthe load and the
detergent solution which separates the partides from the textlies.
- The water level is at such as height that the load is successively lifted from the solution by the ridges formed
in the inner drum and then falls back into the solution.
- The Circulation of the solution during the rotation ofthe drum prevents the accumulation of detergent in the
rubber bottom.

Related product manuals