EasyManua.ls Logo

Electrolux WMD1050 - Panel

Electrolux WMD1050
36 pages
Print Icon
To Next Page IconTo Next Page
To Next Page IconTo Next Page
To Previous Page IconTo Previous Page
To Previous Page IconTo Previous Page
Loading...
- 22 -
11.2003 R.K. 599 518 544
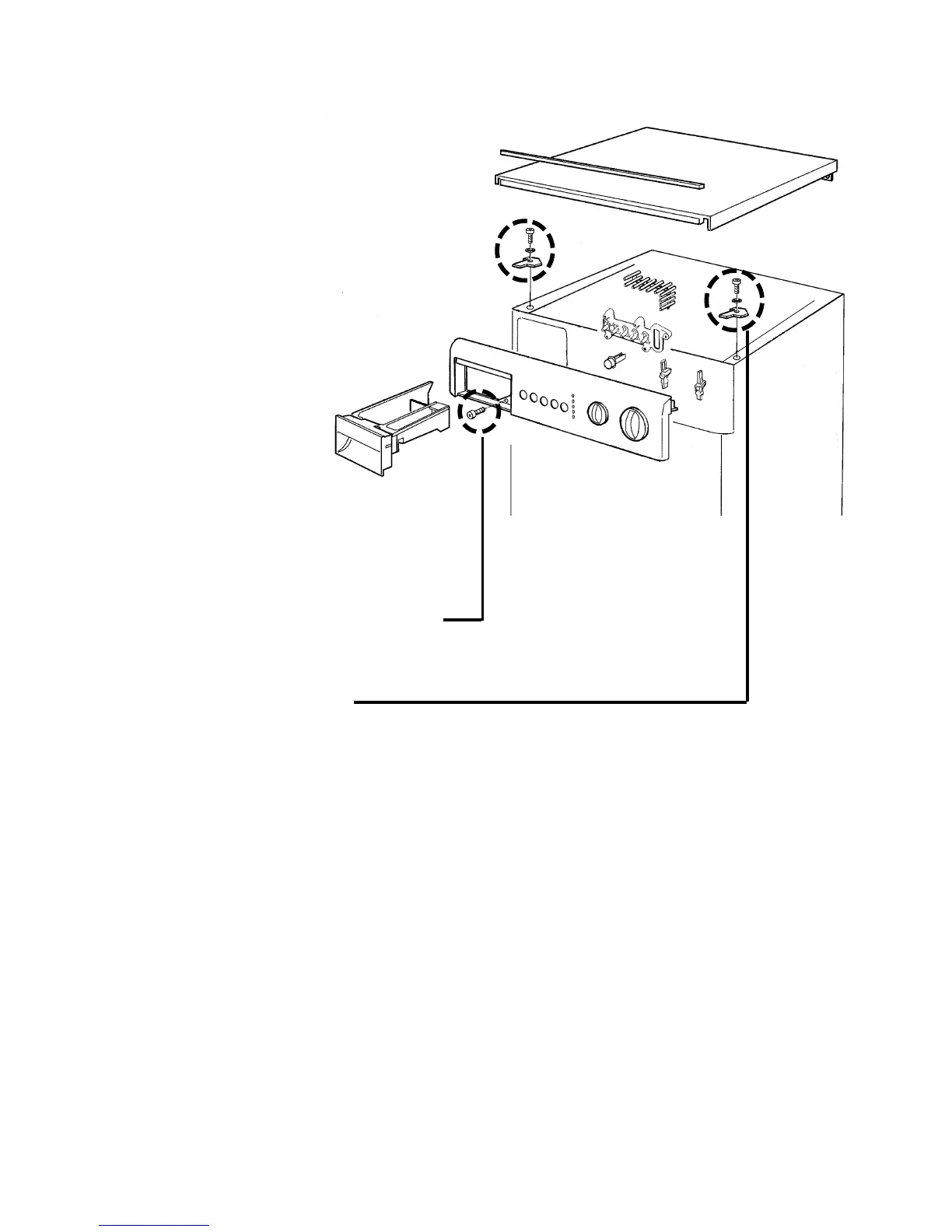
Top panel
a. Remove the two rear screws,
push the top panel towards the rear
and release from the cabinet.
Control panel
a. Remove the top panel.
b. Remove the detergent drawer.
c. Remove the screw which secure the front
of the control panel to the support.
d. Remove the upper screws.
e. Remove the control panel by raising the control panel slightly.
When re-assembling, ensure that the knobs are replaced in the correct positions.
21