EasyManua.ls Logo

EMKO esm-4450 - Page 79

EMKO esm-4450
119 pages
Print Icon
To Next Page IconTo Next Page
To Next Page IconTo Next Page
To Previous Page IconTo Previous Page
To Previous Page IconTo Previous Page
Loading...
79
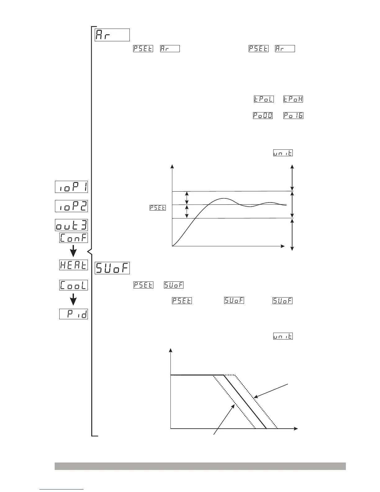
500 505
SuoF=5°C
SuoF=-5°C
Process
Output
100%
50%
0%
Process
Value °C
495
SET VALUE OFFSET
ANTI-RESET WINDUP (0, SCALE HIGH POINT)
- <= process value <= +
While PID operation is running if
condition is true,
integral value is calculated. If the condition is not true, integral value is
not calculated and last calculated integral value is used.
(( - SCALE HIGH POINT / 2 ) , ( SCALE HIGH POINT / 2) )
+ Is used as set value in PID calculations. It is used for
shifting the proportional band.
If = 500 = 5 = -5Example: °C, °C or °C, shifting of
the proportional band is shown below :
Note: Point position changes according to process input type and
scale ,
Unit changes according to the selection in this parameter.
OR
OR
IS
SELECTED
OR
Process
Value
Time
ArValue
ArValue
New
Integral
Valueis
notcalculated
ProcessSet
Value()
IF
New
Integral
Valueis
calculated
New
Integral
Valueis
notcalculated
Note: Point position changes according to process input type and
scale,
Unit changes according to the selection in this parameter.
Scale High Point : Maximum process input value in Pt-100 and Tc
inputs
9999 for fixed dual point calibration used inputs,
Scale high point is the biggest one from or for selectable
dual point calibration used inputs
Scale high point is the biggest one from or for multi point
calibration used inputs

Table of Contents