EasyManua.ls Logo

ETS STARPOWER 548 - Assembly: Endcap Attachment

ETS STARPOWER 548
40 pages
Print Icon
To Next Page IconTo Next Page
To Next Page IconTo Next Page
To Previous Page IconTo Previous Page
To Previous Page IconTo Previous Page
Loading...
5
27330-01A
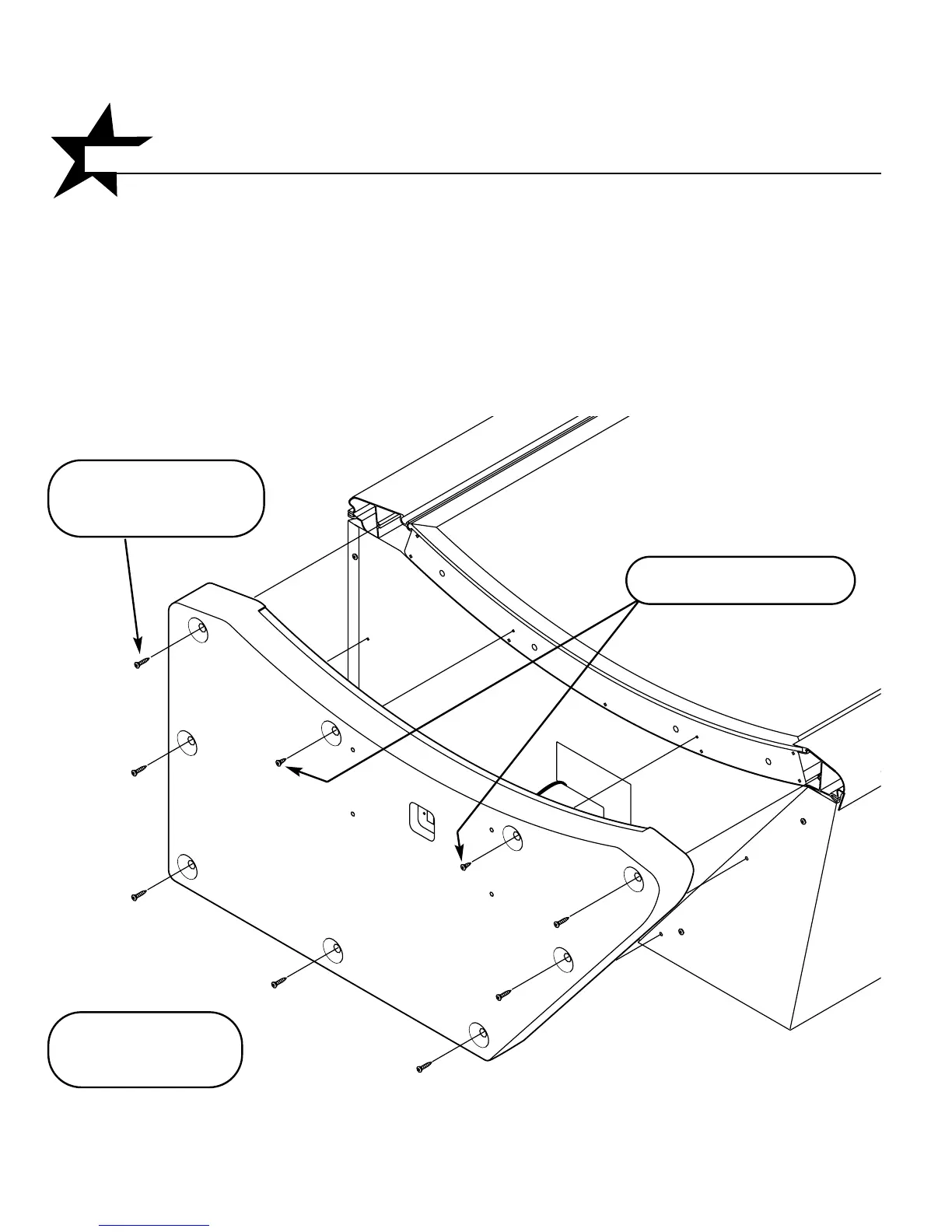
Installation - Assembly Procedures
Parts needed:
Foot end endcap
Head end endcap
14 - #10 x 1” Phillips pan-head screws
4 - #10 x 1/2” Phillips pan-head screws
Attach endcap with
1” screws as shown.
Foot end endcap
shown.
Use 1/2” screws here.

Related product manuals