EasyManua.ls Logo

Evinrude 90 E-TEC - Component Identification

Evinrude 90 E-TEC
60 pages
Print Icon
To Next Page IconTo Next Page
To Next Page IconTo Next Page
To Previous Page IconTo Previous Page
To Previous Page IconTo Previous Page
Loading...
10
Using Your E-TEC Outboard
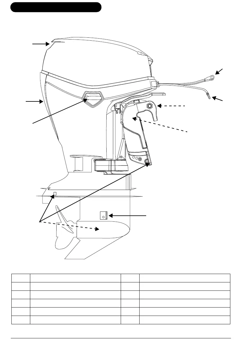
COMPONENT IDENTIFICATION
Item Description Item Description
1 Air Inlet, Tilt Handle 6 Fuel Fitting
2 Water Pump Indicator, Flushing Port 7 Tilt Limiter Cam
3 Engine Cover Latch 8 Tilt Support
4 Anti-Corrosion Anodes 9 Water Intake Screens
5 Battery Cables
8
9
4
7
3
6
5
2
1

Related product manuals