EasyManua.ls Logo

EWM Taurus 551 Basic FDG - Shielding Gas Hose Connection

EWM Taurus 551 Basic FDG
61 pages
Print Icon
To Next Page IconTo Next Page
To Next Page IconTo Next Page
To Previous Page IconTo Previous Page
To Previous Page IconTo Previous Page
Loading...
Design and function
Transport and installation
30
099-005149-EW501
11.08.2016
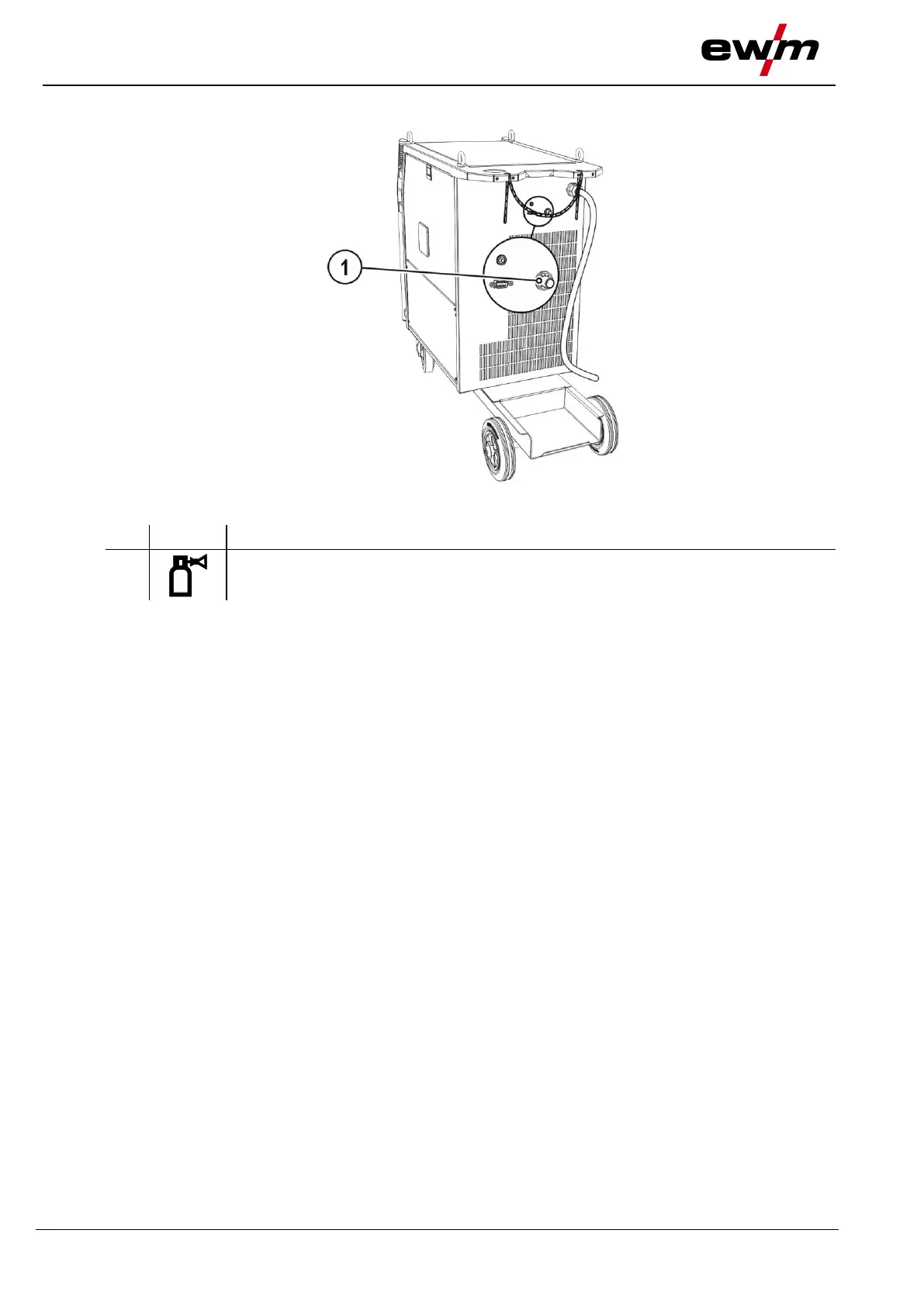
5.1.9.2 Shielding gas hose connection
Figure 5-9
Item
Symbol
Description 0
1
Connecting nipple G¼, shielding gas connection
Connect crown nut of the shielding gas line to the G¼“ connecting nipple.

Table of Contents

Related product manuals