EasyManua.ls Logo

Falcon Professional + - Tips on Cooking with the Timer; General Oven Tips

Falcon Professional +
60 pages
Print Icon
To Next Page IconTo Next Page
To Next Page IconTo Next Page
To Previous Page IconTo Previous Page
To Previous Page IconTo Previous Page
Loading...
8
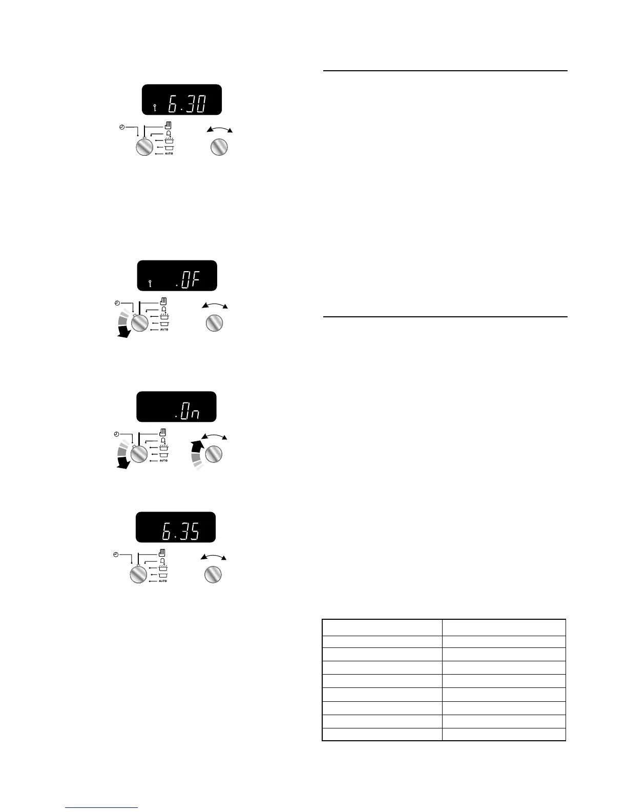
The oven is now locked, as is confirmed by the display showing
the time of day alongside the key symbol:
ArtNo.301-0013 2BC
Activating the key lock 3
When the key lock is activated, the left-hand oven can be
operated as usual but the right-hand oven is locked and will
not come on.

Turn and hold the Timer knob to the clock symbol (
) for
about 8 seconds. ‘Of will appear on the display.
ArtNo.301-0014 2BC
Deactivating the key lock 1
Keep holding the Timer knob turned to the clock symbol (
)
and turn the Adjusting knob clockwise until the key symbol (
)
goes out on the display and ‘On shows. Let go of the knobs.


After a few seconds, the display reverts to showing the time of
day:
ArtNo.301-0016 2BC
Deactivating the key lock 3
The oven can now be used normally.
Tips on Cooking with the Timer
If you want to cook more than one dish, choose dishes that
require approximately the same time. However, dishes can
be ‘slowed down slightly by using small containers and
covering them with aluminium foil, or ‘speeded up slightly
by cooking smaller quantities or placing them in larger
containers.
Very perishable foods such as pork or fish should be avoided
if a long delay period is planned, especially in hot weather.




Whole poultry must be thoroughly defrosted before being
placed in the oven. Check that meat and poultry are fully
cooked before serving.
General Oven Tips
The wire shelves should always be pushed firmly to the back
of the oven.
Baking trays, meat tins, etc., should be placed level in the middle
of the ovens wire shelves. Keep all trays and containers away
from the sides of the oven otherwise overbrowning of the food
may occur.
For even browning, the maximum recommended size for a
baking tray is 340mm by 340mm.
Always leave a ‘fingers width’ between dishes on the
same shelf. This allows the heat to circulate freely
around them.
The Cook & Clean oven liners (see 'Cleaning your
Cooker') work better when fat splashes are avoided.
Cover meat when cooking.
To reduce fat splashing when you add vegetables to
hot fat around a roast, dry them thoroughly or brush
lightly with cooking oil.
If you want to brown the base of a pastry dish, preheat
a baking tray for 15 minutes before placing the dish in
the centre of the tray.
Where dishes may boil and spill over during cooking,
place them on a baking tray.
ArtNo.050-0006 Gas temperature conversion table









Temperature conversion table

Related product manuals