EasyManua.ls Logo

Falcon Professional + - Conseils Pour la Cuisson Avec Minuterie

Falcon Professional +
60 pages
Print Icon
To Next Page IconTo Next Page
To Next Page IconTo Next Page
To Previous Page IconTo Previous Page
To Previous Page IconTo Previous Page
Loading...
8


Après activation de la fonction de verrouillage, le four
gauche peut fonctionner normalement, mais le four droit est
verrouillé et ne s’allumera pas.

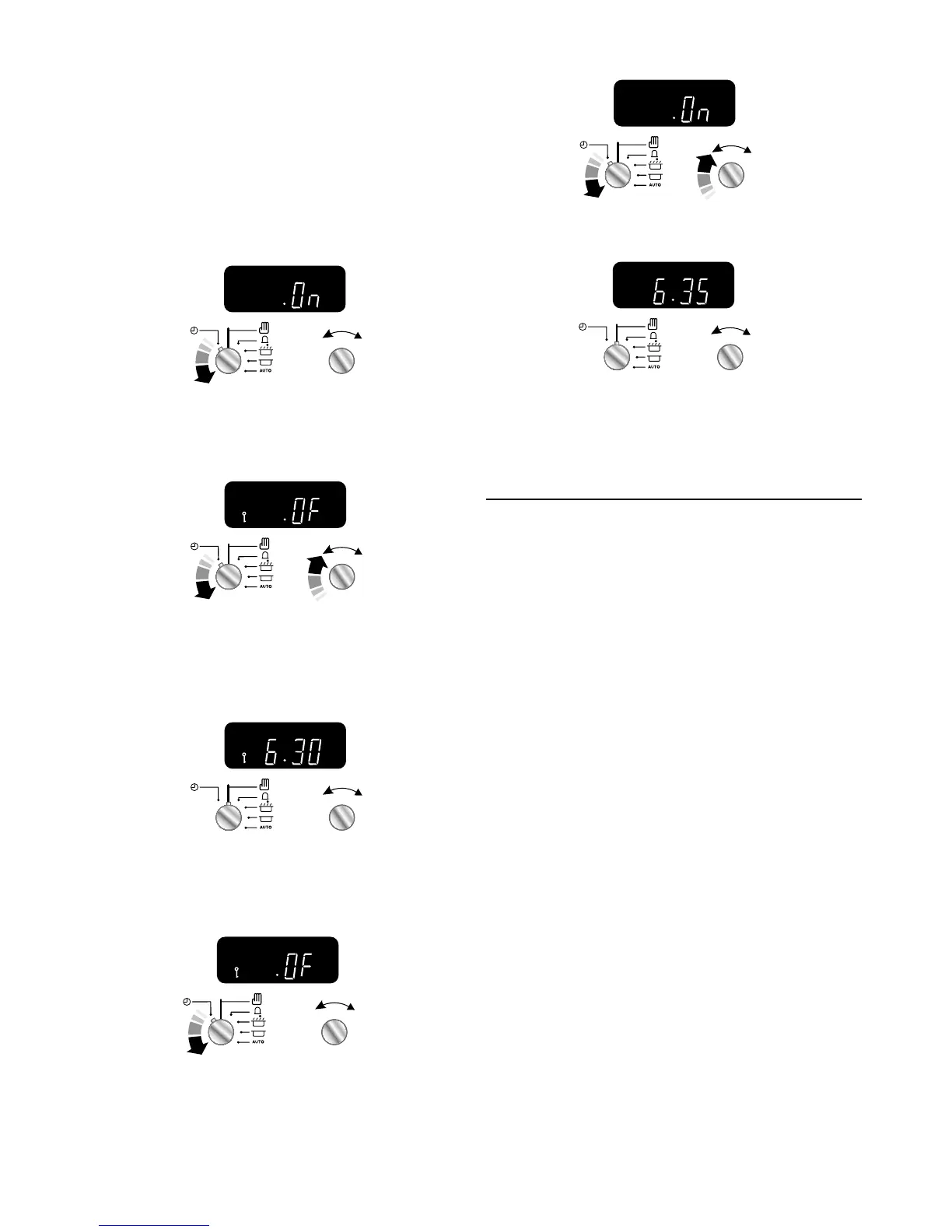
Vérifiez que l’horloge est sur le mode manuel et annulez tout
programme en cours. Tournez et appuyez sans relâcher sur le
bouton Minuterie pour le mettre sur le symbole horloge (
)
pendant environ 8 secondes. « On » ([Marche]) sera affiché :
Art No. 301-0011 2BC
Activating the key lock 1
Tout en maintenant le bouton Minuterie sur le symbole
horloge (
), tournez le bouton Réglage en sens horaire
jusqu’à l’affichage du symbole clé (
) et de «Off » ([Arrêt]).
Relâchez les boutons.
ArtNo.301-0012 2BC
Activating the key lock 2
Le four droit est à présent verrouillé, comme indiqué par
l’affichage de l’heure et du symbole clé :
Après activation de la fonction de verrouillage, le four
gauche peut fonctionner normalement, mais le four droit est
verrouillé et ne s’allumera pas.
ArtNo.301-0013 2BC
Activating the key lock 3

Tournez et appuyez sans relâcher sur le bouton Minuterie
pour le mettre sur le symbole horloge (
) pendant environ 8
secondes. « Of » ([Arrêt]) sera affiché :
ArtNo.301-0014 2BC
Deactivating the key lock 1
Tout en maintenant le bouton Minuterie sur le symbole
horloge (
), tournez le bouton Réglage en sens horaire
jusqu’à ce que le symbole clé (
) soit remplacé par l’affichage
de « On » ([Marche]). Relâchez les boutons.


Après quelques secondes, l’heure est de nouveau
affichée :
ArtNo.301-0016 2BC
Deactivating the key lock 3
Le four droit peut être à présent utilisé normalement.
Conseils pour la cuisson avec
minuterie
Si vous désirez cuire plusieurs plats simultanément, choisissez
des plats nécessitant approximativement le même temps
de cuisson. Cependant, la cuisson de certains plats peut être
légèrement « ralentie » en utilisant des petits plats de cuisson
et en les recouvrant d’une feuille de papier aluminium, ou «
accélérée » en utilisant de plus petites quantités ou des plats
de cuisson plus grands.
Evitez d’utiliser des aliments rapidement périssables (poisson,
porc, etc.) si vous prévoyez une longue période d’attente,
surtout par temps chaud.






Décongelez complètement les volailles entières avant de les
mettre au four. Assurez-vous que les viandes et volailles sont
bien cuites avant de les servir.

Related product manuals