EasyManua.ls Logo

Falcon SG700RM-1SC - Rear Panel

Falcon SG700RM-1SC
42 pages
Print Icon
To Next Page IconTo Next Page
To Next Page IconTo Next Page
To Previous Page IconTo Previous Page
To Previous Page IconTo Previous Page
Loading...
11
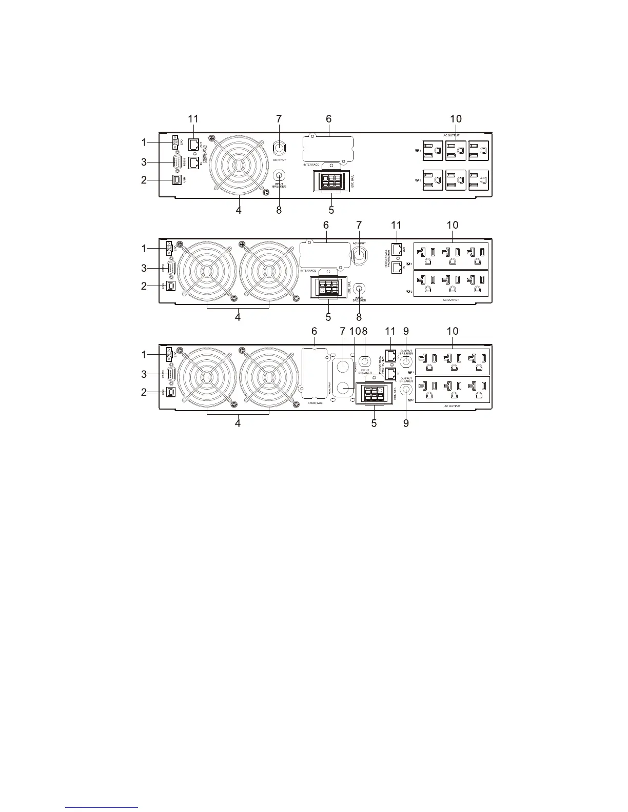
3.2 Rear Panel
SC UPS, 120Vac
1. Emergency Power Off (EPO)
2. USB port
3. RS-232 port
4. Fan
5. External battery connector
6. Slot for optional communication cards
7. AC input power line cord
8. Utility input circuit breaker
9. Output circuit breaker for 2 outlets
10. Programmable Output Receptacles
11. Communication Surge Protection
700VA
/1kVA /
1.5kVA
2kVA
3kVA

Related product manuals