EasyManua.ls Logo

Festo CP-E16-M8 - Page 19

Festo CP-E16-M8
58 pages
Print Icon
To Next Page IconTo Next Page
To Next Page IconTo Next Page
To Previous Page IconTo Previous Page
To Previous Page IconTo Previous Page
Loading...
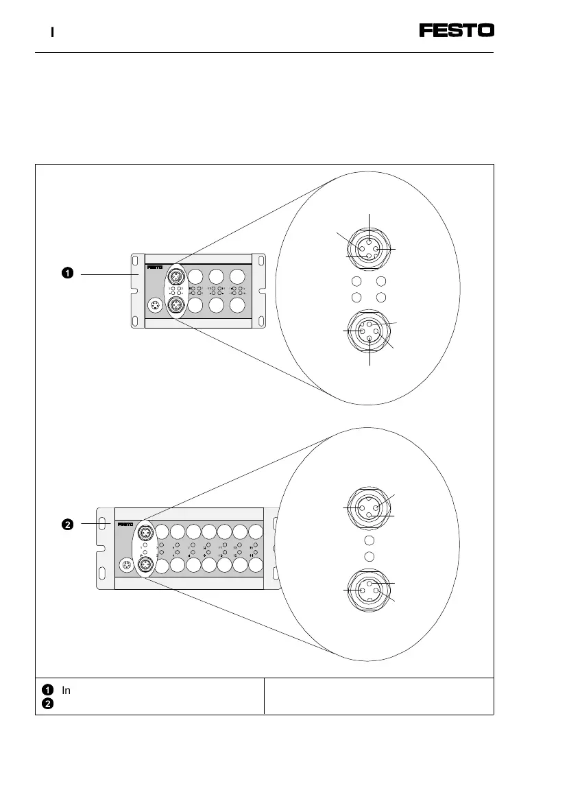
Pin assignment
The diagram below shows the pin assignment of the
sensor connections as an example.
1
2
Input module type CP-E16...-M12x2
Input module type CP-E16...-M8
E = Input
Fig. 1/5: Pin assignment of input module
Ex+3
Ex
Ex+2
Pin 3: 0V
Pin 4: Ex
Pin 1: 24V
Pin 1: 24V
Pin 4: Ex+2
Pin 3: 0V
Pin 2: Ex+3
Ex+1
Pin 1: 24V
Pin 3: 0V
Pin 2: Ex+1
Pin 2: Ex
Pin 3: 0V
Pin 1: 24V
Ex+1
Ex
Pin 2: Ex+1
2
1
1. Input module type CP-E16...-M...
1-10 CP-E16...-M... 9611A

Related product manuals