EasyManua.ls Logo

Festo CP-E16-M8 - Page 25

Festo CP-E16-M8
58 pages
Print Icon
To Next Page IconTo Next Page
To Next Page IconTo Next Page
To Previous Page IconTo Previous Page
To Previous Page IconTo Previous Page
Loading...
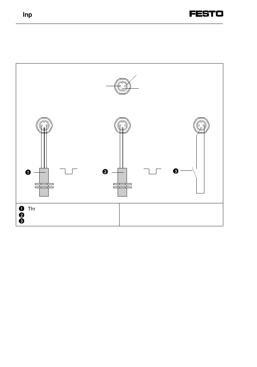
Circuitry examples of CP-E16N-M8
(NPN inputs)
Pin assignment
Circuitry examples
1
2
3
Three-wire sensor (negative switching)
Two-wire sensor (negative switching)
Contact
E = Input
Fig. 1/11: Circuitry examples of input module CP-E16N-M8
Pin 1: 24 V
Pin 3: 0 V
Pin 2: Ex
2
3
1
1. Input module type CP-E16...-M...
1-16 CP-E16...-M... 9611A

Related product manuals