EasyManua.ls Logo

Fisher Scientific Isotemp Basic -86C - Control Panel Overview; Keypad Operation

Fisher Scientific Isotemp Basic -86C
48 pages
Print Icon
To Next Page IconTo Next Page
To Next Page IconTo Next Page
To Previous Page IconTo Previous Page
To Previous Page IconTo Previous Page
Loading...
Isotemp Basic 1-3Fisher Scientific
Section 1
Installation and Start-Up
Temperature
Display
Mode
Key
Alarm
Indicator
Silence
Key
Alarm
Panel
Up and Down
Arrows
Enter Key
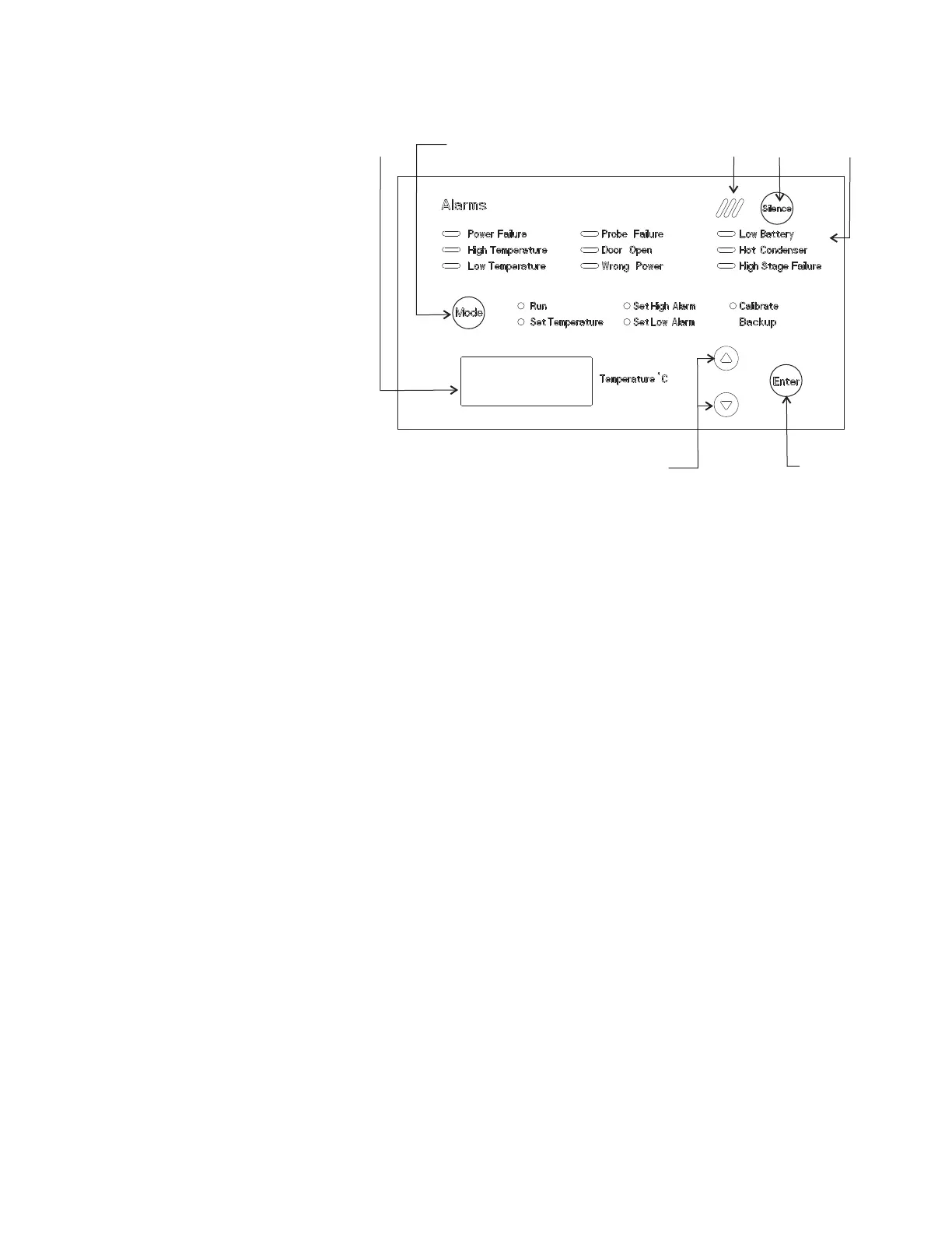
Figure 1-6. Control Panel
Refer to Figure 1-6 for the items indicated.
Temperature Display - Displays temperature in degrees Celsius.
Mode Select Switch - Used to select Run, Set Temperature, Set High
Alarm, Set Low Alarm, Calibrate, Backup.
Alarm Indicator - Light pulses on/off during an alarm condition of the
cabinet.
Silence - Silences the audible alarm.
Alarm Panel - indicates the current alarm condition.
Up and Down Arrows - Increases or decreases values, toggles between
choices.
Enter - Stores the value into memory.
This Isotemp freezer has five basic modes which allow freezer setup and
operation. Press the Mode key to scroll through the mode selections.
Up Arrow: Increases or toggles the parameter value.
Enter: Must press Enter key to save to memory all changed values.
Down Arrow: Decreases or toggles the parameter value.
Silence Key: Press to silence the audible alarm. See Section 3 for alarm
ringback times.
Control Panel Keys,
Displays/Indicators
Keypad Operation

Related product manuals