EasyManua.ls Logo

Fisher ET - Parts List; Bonnet Parts

Fisher ET
44 pages
Print Icon
To Next Page IconTo Next Page
To Next Page IconTo Next Page
To Previous Page IconTo Previous Page
To Previous Page IconTo Previous Page
Loading...
ET Valve
Instruction Manual
Form 5081
June 2002
19
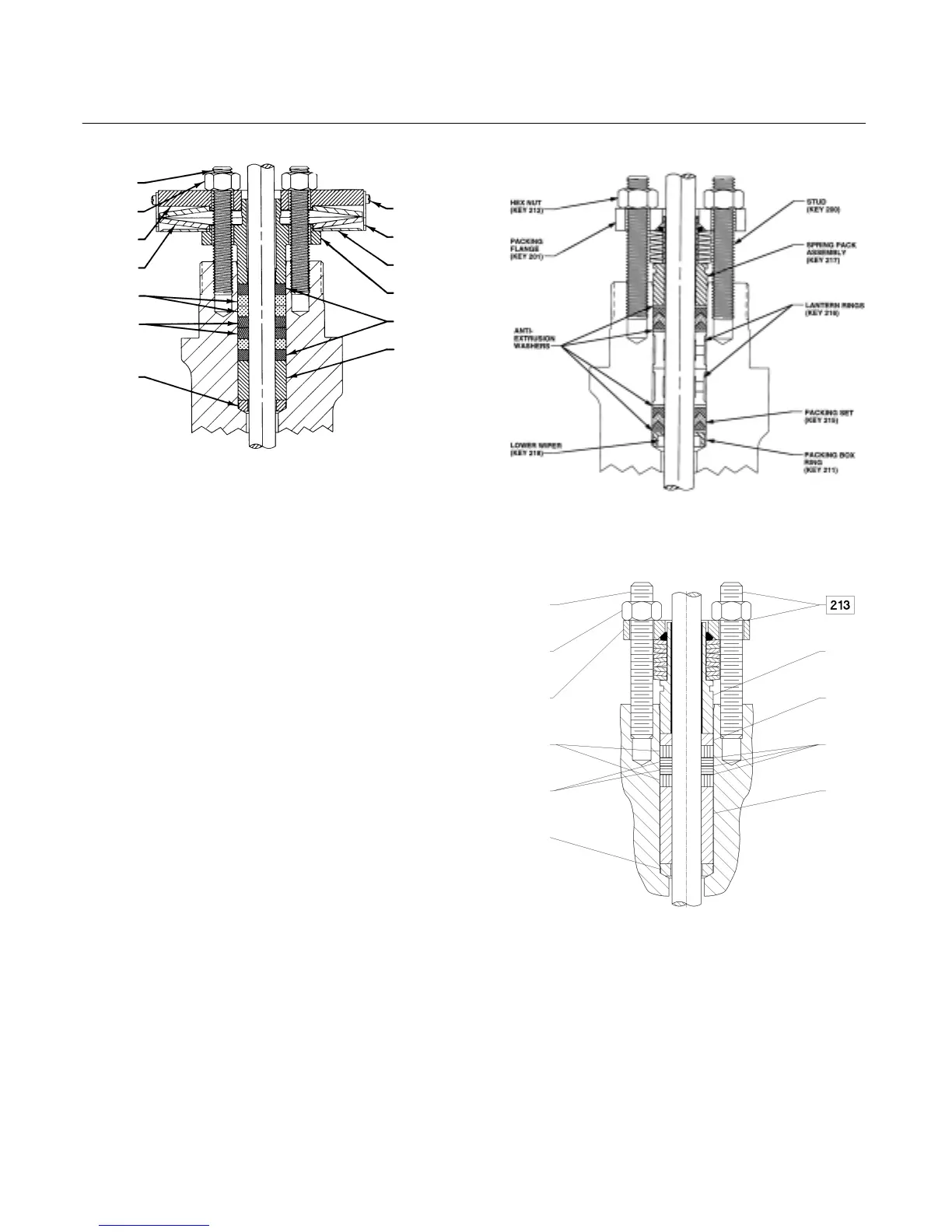
Figure 10. Typical HIGH-SEAL Packing System
A6138 / IL
STUD
(KEY 200)
HEX NUT
(KEY 212)
PACKING
FLANGE
(KEY 201)
SPRING
(KEY 202)
PACKING
RING
(KEY 209)
GRAPHITE RIBBON
PACKING RING
(KEY 210)
PACKING
BOX RING
(KEY 211)
SCREW
(KEY 204)
LOAD
SCALE
(KEY 205)
INDICATOR
DISK
(KEY 206)
PACKING
FOLLOWER
(KEY 203)
GUIDE
BUSHING
(KEY 207)
GUIDE
BUSHING
(KEY 208)
Parts List
Note
Part numbers are shown for recommended spares
only. For part numbers not shown, contact your
Fisher sales office.
Bonnet (figures 3 through 9 and
figure 14)
Key Description Part Number
1 Bonnet/ENVIRO-SEAL bellows seal bonnet
If you need a bonnet or an ENVIRO-SEAL
bellows seal bonnet as a replacement
part, order by valve size and stem
diameter, serial number, and desired
material.
2 Extension Bonnet Baffle
3 Packing Flange
3 ENVIRO-SEAL bellows seal packing flange
4 Packing Flange Stud
4 ENVIRO-SEAL bellows seal stud bolt
5 Packing Flange Nut
5 ENVIRO-SEAL bellows seal hex nut
6* Packing set, PTFE see following table
A6297-1 / IL
Figure 11. Typical ENVIRO-SEAL Packing System
with PTFE Packing
PACKING
RING
(KEY 209)
PACKING
RING
(KEY 210)
PACKING
BOX RING
(KEY 211)
STUD
(KEY 200)
SPRING
PACK
ASSEMBLY
(KEY 217)
HEX NUT
(KEY 212)
PACKING
FLANGE
(KEY 201)
GUIDE
BUSHING
(KEY 207)
PACKING
WASHERS
(KEY 214)
GUIDE
BUSHING
(KEY 208)
Figure 12. Typical ENVIRO-SEAL Packing System
with Graphite ULF Packing
39B4612/A
Key Description Part Number
6* ENVIRO-SEAL bellows seal packing set
PTFE for 9.5 mm (3/8 inch) stem (1 reqd
for single packing, 2 reqd for double
packing) 12A9016X012
PTFE for size 2 with 12.7 mm (1/2 inch)
stem (2 reqd for double packing) 12A9016X012
PTFE for size 3 and 4 with 12.7 mm
(1/2 inch) stem (2 reqd for double
packing) 12A8832X012
*Recommended spare parts

Table of Contents

Related product manuals