EasyManua.ls Logo

Fisher ET - Design ET Valve Assembly with Whisperflo Cage

Fisher ET
44 pages
Print Icon
To Next Page IconTo Next Page
To Next Page IconTo Next Page
To Previous Page IconTo Previous Page
To Previous Page IconTo Previous Page
Loading...
ET Valve
Instruction Manual
Form 5081
June 2002
26
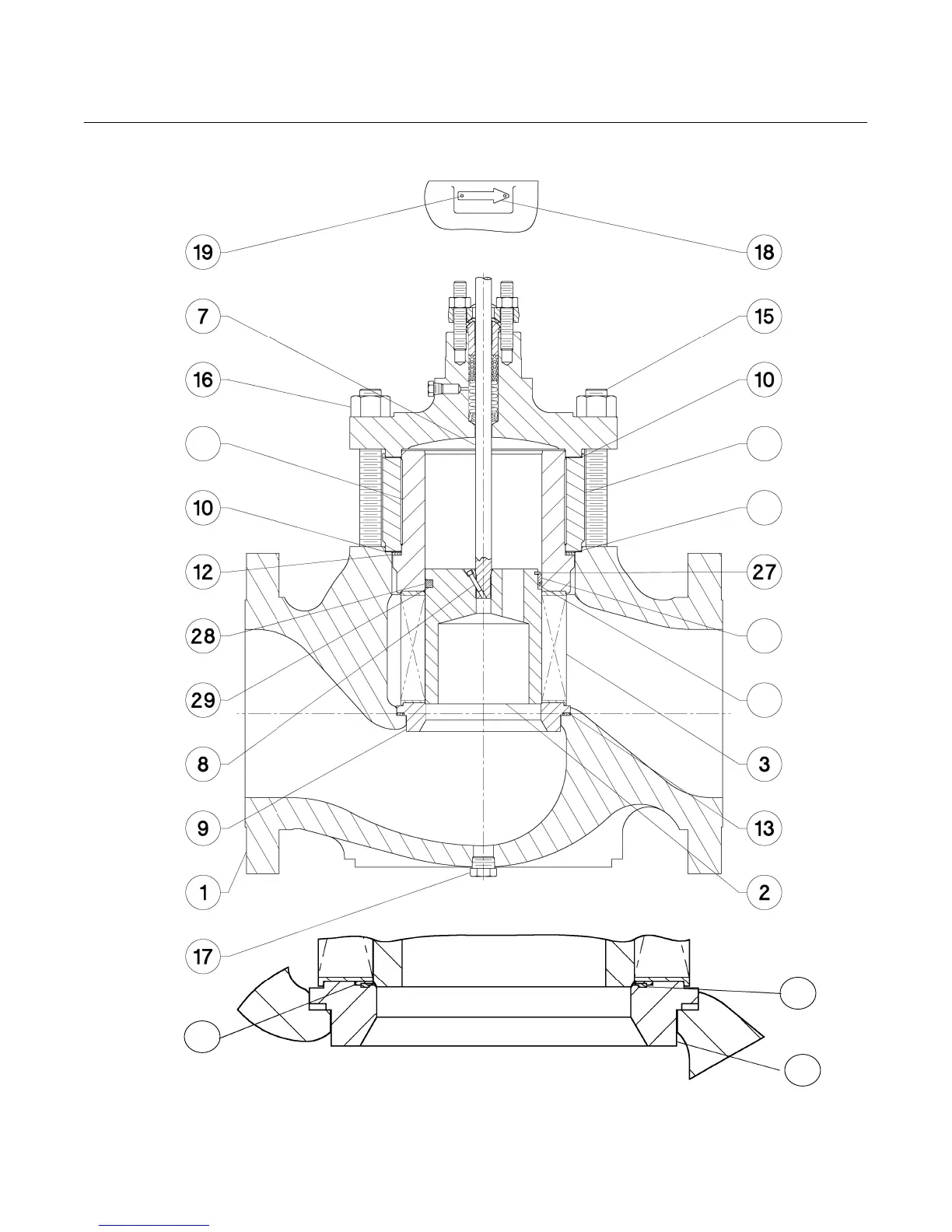
Figure 18. Design ET Valve Assembly with WhisperFlo Cage
31
32
51
29
28
23
21
58B2086-A
DETAIL OF PTFE SEAT
22

Table of Contents

Related product manuals