EasyManua.ls Logo

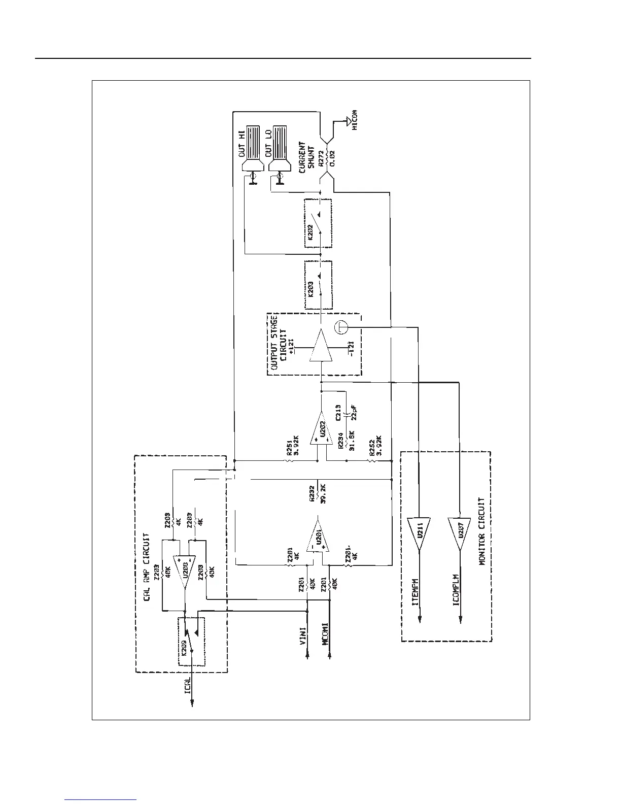
Fluke 5725A - Current Amplifier Assembly Block Diagram

Fluke 5725A
208 pages
Print Icon
To Next Page IconTo Next Page
To Next Page IconTo Next Page
To Previous Page IconTo Previous Page
To Previous Page IconTo Previous Page
Loading...
5725A
Instruction Manual
4-20
aq20f.eps
Figure 4-3. Current Amplifier Assembly Block Diagram

Table of Contents

Related product manuals