EasyManua.ls Logo

FORST PT6 - Chute Assembly

FORST PT6
42 pages
Print Icon
To Next Page IconTo Next Page
To Next Page IconTo Next Page
To Previous Page IconTo Previous Page
To Previous Page IconTo Previous Page
Loading...
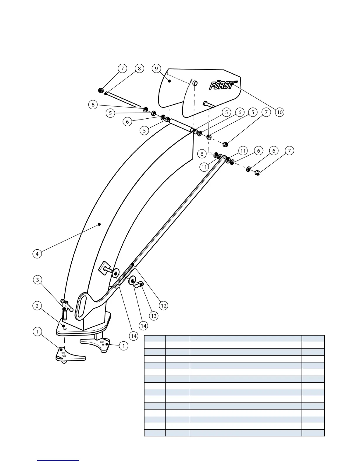
P a g e | 30
Chute assembly
Item No Part No Description Quantity
1 12-19-056 Chute clamp fab assy 2
2 12-20-001 Spring Pin Slotted 10 DIA x 30Lg ISO 8752 2
3 12-10-005 M16 T bar screw 2
4 12-19-051 Chute fab assy 1
5 12-11-007 Plain bearing 12 ID, 16 OD, 22 flange x 10 Lg 4
6 12-14-003 M12 Washer ISO 7089 6
7 12-13-003 M12 nyloc nut ISO 7040 3
8 12-01-043 Hood hinge stud 1
9 12-19-151 Chute hood fab assy 1
10 12-30-024 Forst small orange decal 2
11 12-15-020 M12 Elastomer washer OD 25-ID 12 x 5 THK 2
12 12-19-055 Chute handle - standard 1
13 12-10-004 M12 female steel handle 1
14 12-14-004 M12 Washer extra large OD 44 x 4 THK ISO 7094 2

Related product manuals