EasyManua.ls Logo

freightliner 108SD - Power Steering System

freightliner 108SD
192 pages
Print Icon
To Next Page IconTo Next Page
To Next Page IconTo Next Page
To Previous Page IconTo Previous Page
To Previous Page IconTo Previous Page
Loading...
Power Steering System
The power steering system includes the power steer-
ing gear, hydraulic hoses, power steering pump, res-
ervoir, steering wheel and column, and other compo-
nents. Some models are also equipped with a
separate hydraulic power cylinder on the right side of
the front axle, or a right-hand slave gear.
The power steering pump, driven by the engine, pro-
vides the power assist for the steering system. If the
engine is not running, there is no power assist.
WARNING
Driving the vehicle without the power-assist fea-
ture of the steering system requires much greater
effort, especially in sharp turns or at low speeds,
which could result in an accident and possible
injury.
If the power-assist feature does not work due to hy-
draulic fluid loss, steering pump damage, or another
cause, bring the vehicle to a safe stop. Do not drive
the vehicle until the cause of the problem has been
corrected.
NOTICE
Never steam clean or high-pressure wash the
steering gear. Internal damage to gear seals, and
ultimately the steering gear, can result.
Drivers should carefully use the power available with
a power steering system. If the front tires become
lodged in a deep hole or rut, drive the vehicle out
instead of using the steering system to lift the tires
out of the hole.
NOTICE
Avoid turning the tires when they are against a
curb, as this places a heavy load on steering
components and could damage them.
Steering Wheel Adjustment
Two steering wheels are available: a standard 18-
inch (450-mm) steering wheel and an optional 20-
inch (500-mm) steering wheel.
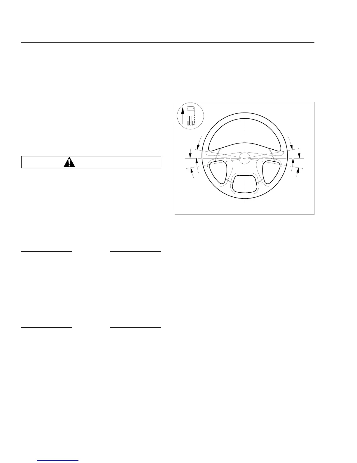
When there is no load on the vehicle and the front
tires are pointed straight ahead, the standard steer-
ing wheel spokes should be at the 3 o’clock and 9
o’clock positions or within 10 degrees of these posi-
tions. See
Fig. 16.1.
On the optional 20-inch (500-mm) wheel, the steering
wheel spokes should be at the 4 o’clock and 8
o’clock positions or within 10 degrees of these posi-
tions. For steering wheel adjustment procedures, see
Group 46 of the 108SD and 114SD Workshop
Manual.
05/10/2007
f462075
10°
10°
1
2
10°
10°
1. 9 o’Clock 2. 3 o’Clock
Fig. 16.1, Steering Wheel Centered
Steering System
16.1

Table of Contents

Related product manuals