EasyManua.ls Logo

Fromm TP-601D1 - Page 134

Fromm TP-601D1
149 pages
Print Icon
To Next Page IconTo Next Page
To Next Page IconTo Next Page
To Previous Page IconTo Previous Page
To Previous Page IconTo Previous Page
Loading...
-88-
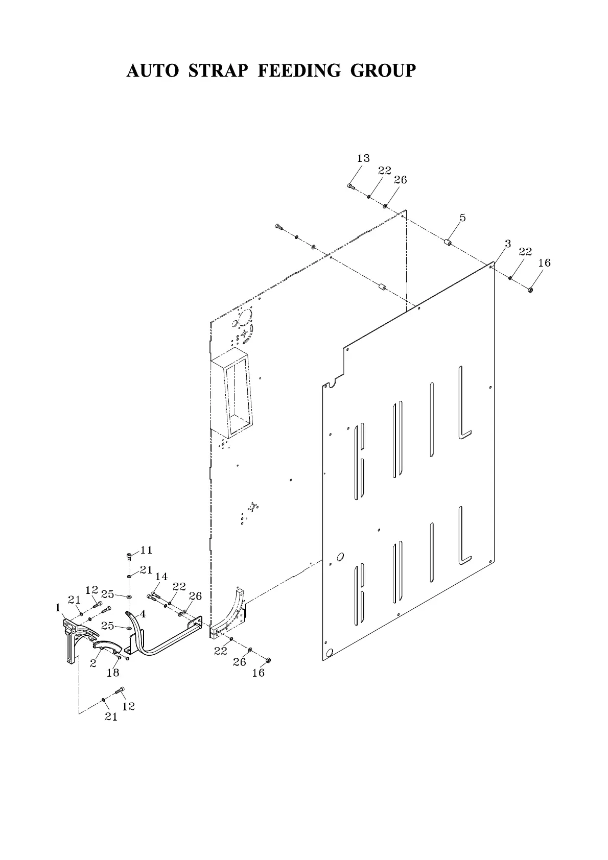
7-2 T6-8-10002
T6-8-10003
(For TP-601L)
01/10/08

Related product manuals