EasyManua.ls Logo

Fromm TP-601D1 - Spare Parts Identification (PART II); Strapping Head Unit Parts

Fromm TP-601D1
149 pages
Print Icon
To Next Page IconTo Next Page
To Next Page IconTo Next Page
To Previous Page IconTo Previous Page
To Previous Page IconTo Previous Page
Loading...
REF.
NO.
PART NO. DESCRIPTION REMARKS
Q'TY
1 T6-1-10003
T6-1-20003
T6-1-30000
T6-1-40000
2
3
4
T6-1-50003
T6-1-60003
T6-1-70002
5
7
6
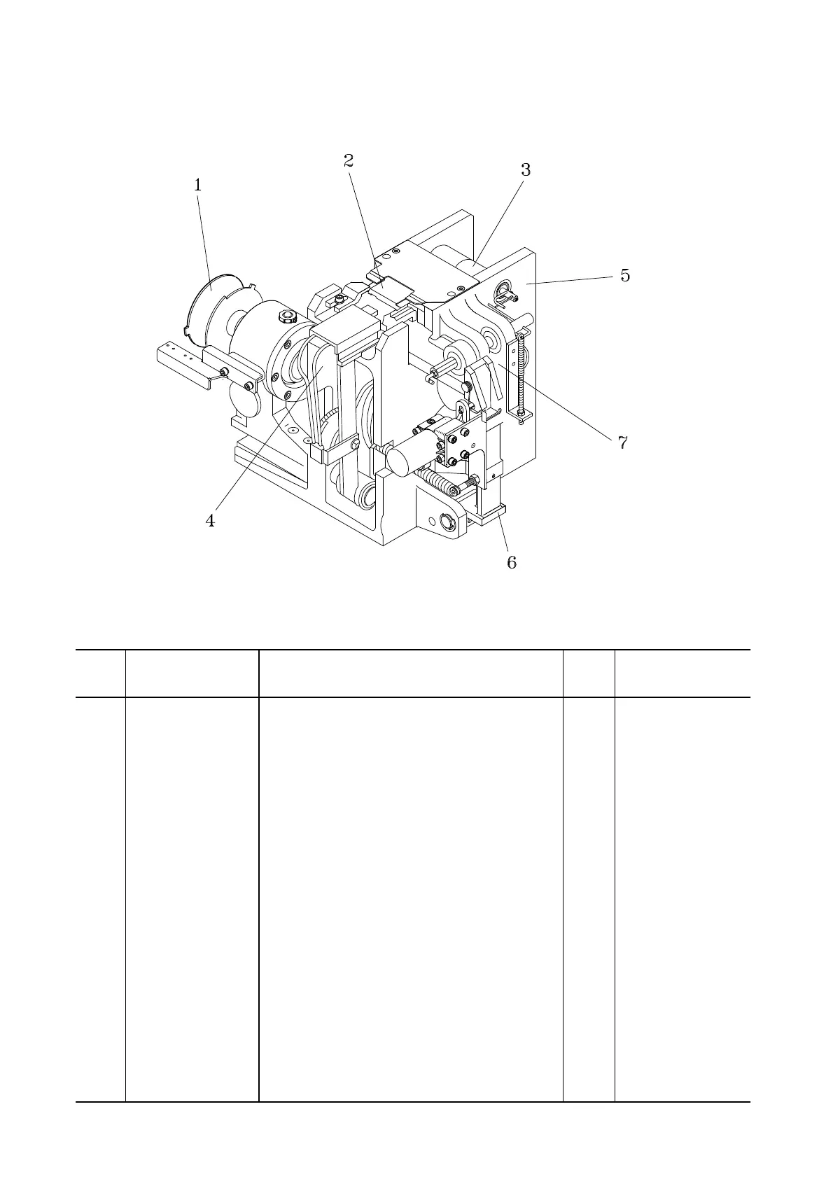
Cam Group
Press Group
Heater Group
Strapping Head Group
Tension Group
Slide Table Group
Feed Group (For TP-601D1/TP-601L1, SEE PAGE 23
SEE PAGE 19
SEE PAGE 5
SEE PAGE 9
SEE PAGE 14
SEE PAGE 17
SEE PAGE 2
1
1
1
1
1
1
1
STRAPPING HEAD UNIT
-1-
1 T6-1-90004
T6-1-90007
T6-1-70005 Feed Group (For TP-601D3/TP-601L3, 1 SEE PAGE 23
T6-1-90004 Strapping Head Unit (For 12mm) 1
T6-1-90007 Strapping Head Unit (For 9mm) 1
12mm)
T6-1-70003 Feed Group (For TP-601D1/TP-601L1,
9mm)
1
Feed Group (For TP-601D3/TP-601L3, T6-1-70004
12mm)
1
9mm)
SEE PAGE 23
SEE PAGE 23
01/10/08

Related product manuals