EasyManua.ls Logo

Fromm TP-601D1 - Page 56

Fromm TP-601D1
149 pages
Print Icon
To Next Page IconTo Next Page
To Next Page IconTo Next Page
To Previous Page IconTo Previous Page
To Previous Page IconTo Previous Page
Loading...
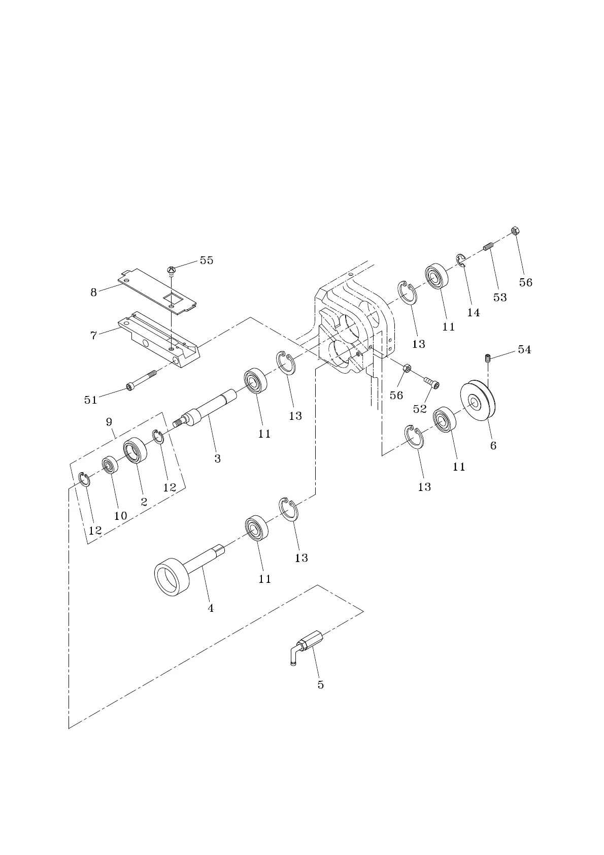
FEED ASS'Y
-24-
1-7-1 T6-1-71002
T6-1-71003
01/10/08

Related product manuals