EasyManua.ls Logo

Fromm TP-601D1 - Page 96

Fromm TP-601D1
149 pages
Print Icon
To Next Page IconTo Next Page
To Next Page IconTo Next Page
To Previous Page IconTo Previous Page
To Previous Page IconTo Previous Page
Loading...
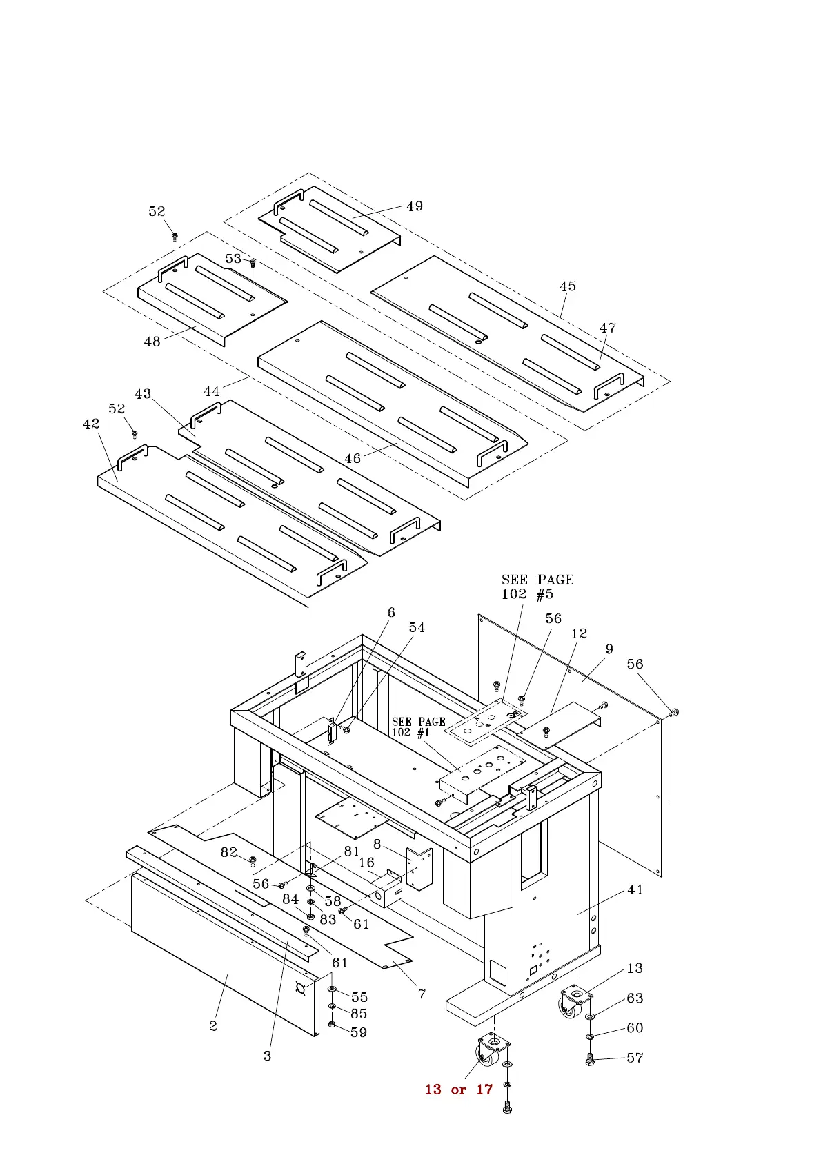
BODY FRAME GROUP
-59-
5-1 T6-5-10011
(For TP-601D)
01/10/08

Related product manuals