EasyManua.ls Logo

GATEXPERT DKC500ACL - Wiring to the Terminal

GATEXPERT DKC500ACL
34 pages
Print Icon
To Next Page IconTo Next Page
To Next Page IconTo Next Page
To Previous Page IconTo Previous Page
To Previous Page IconTo Previous Page
Loading...
Instructions for DKC500ACL/DKC800ACL
www.gatexpertstore.com
19
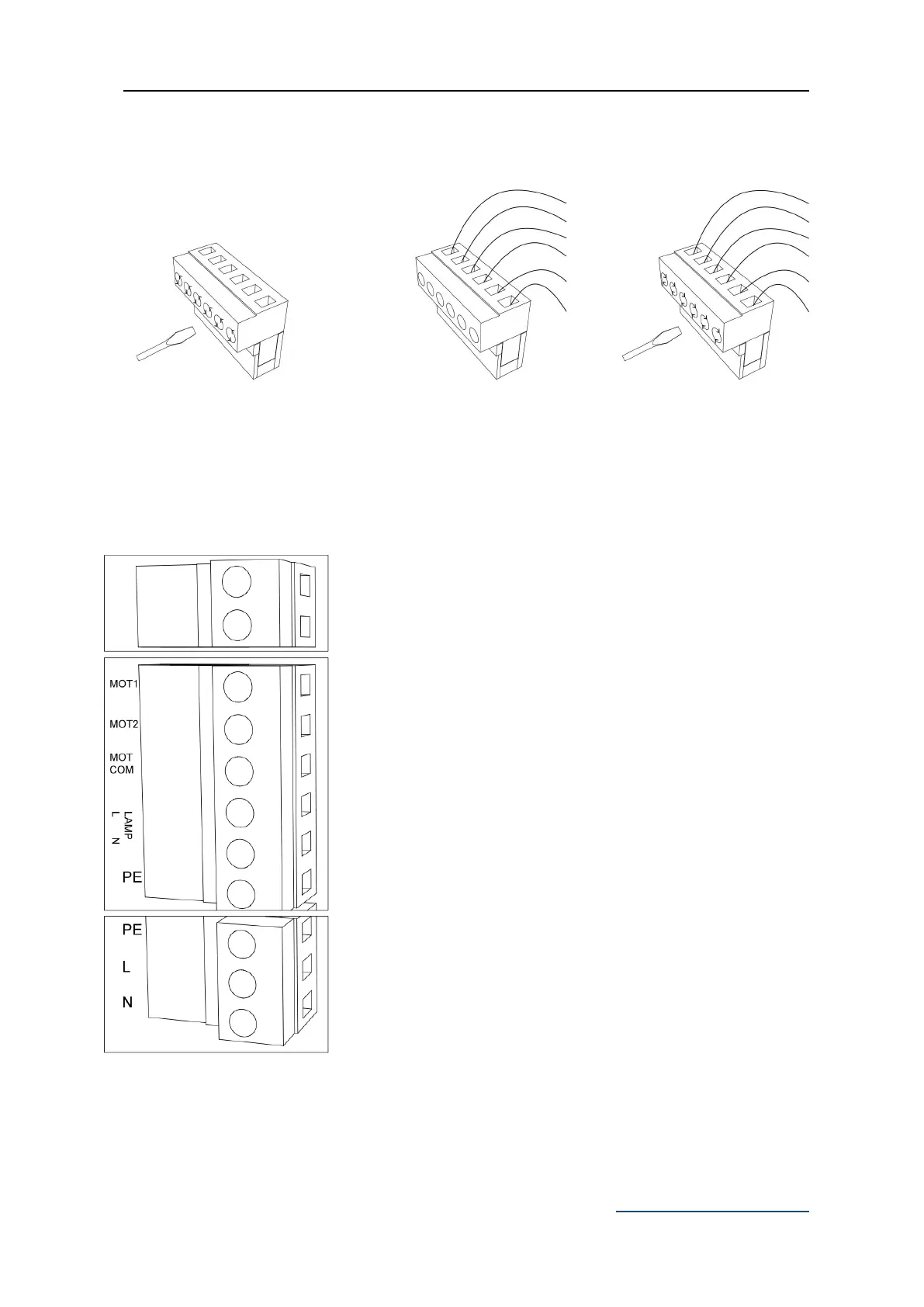
Insert the wire into the
number on the terminal that
you are looking to connect to.
Refer to Page 15.
Tighten with a screwdriver
to secure the wire in place.
J6 Terminal:
Motor Capacitor
J4 Terminal:
MOT1: Motor Terminal, swap with MOT2 to change gate
moving direction.
MOT2: Motor Terminal, swap with MOT1 to change gate
moving direction.
MOTCOM: Motor Common Terminal.
LAMP (L&N): Connection for warning lamp.
PE: Motor and warning lamp earth
Note: If require to change the moving direction, not
only MOT1 and MOT2 wires need to be swapped, but also
the wires of 11 and 13 on J5 Terminal have to be
swapped with each other.
J3 Terminal:
PE: Earth (yellow/green wire).
L: Power (brown wire).
N: Power (blue wire).
Wiring to the Terminal
Using a screwdriver to
loosen the screw on the
side of the terminal.

Related product manuals