EasyManua.ls Logo

GE CT-9800

GE CT-9800
510 pages
To Next Page IconTo Next Page
To Next Page IconTo Next Page
To Previous Page IconTo Previous Page
To Previous Page IconTo Previous Page
Loading...
GE MEDICAL SYSTEMS CT 9800 QUICK SYSTEM
Rev. 12 Indicates Change Direction 18000
4-12-16
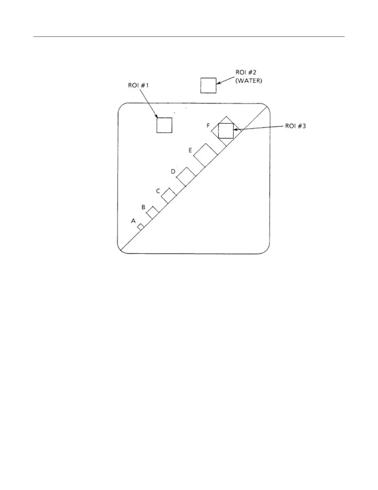
12-9-3 MTF Determination
LOCATION LINE PAIRS
PER CM.
RESOLUTION
(MM.)
A 10 0.5
B 8 0.6
C 6.25 0.8
D 5 1
E 3.9 1.3
F 3.1 1.6
ILLUSTRATION 4-12-5
RESOLUTION BAR PATTERNS
The Modulation Transfer Function (MTF) is the ratio of the modulation of a test image produced by the system to
the modulation present in the original image. The MTF is a function of frequency and the test image, according to
MTF definition, should be a sine wave but, for practical purposes, bar patterns are often used instead. The QA
phantom has 6 bar patterns representing 6 frequencies. If a system has a MTF of 1 at a certain frequency, it
indicates a sine pattern of that frequency will be imaged perfectly. At the other extreme, a MTF of zero implies
the sine pattern will be completely blurred.

Table of Contents

Related product manuals