EasyManua.ls Logo

GE CT-9800

GE CT-9800
510 pages
To Next Page IconTo Next Page
To Next Page IconTo Next Page
To Previous Page IconTo Previous Page
To Previous Page IconTo Previous Page
Loading...
GE MEDICAL SYSTEMS CT 9800 QUICK SYSTEM
Rev. 12 Direction 18000
6-9-7
The collimator is located to the gantry by two pins in slotted holes which allow shift in the theta direction. It is
secured with (4) 1/4-20 Hex cap screws with flat washers through slotted holes. A special screw at the top of the
collimator with the gantry at -90°
or + 270° provides fine adjustment of the collimator position. In addition, a
bracket provides mounting of the dial indicator to measure the shift of collimator position. The collimator may be
repositioned without affecting theta position of the X-Ray tube unit. The theta position of the collimator assembly
is adjusted so that the center of the body filter is coincident with the tube-isocenter-detector alignment.
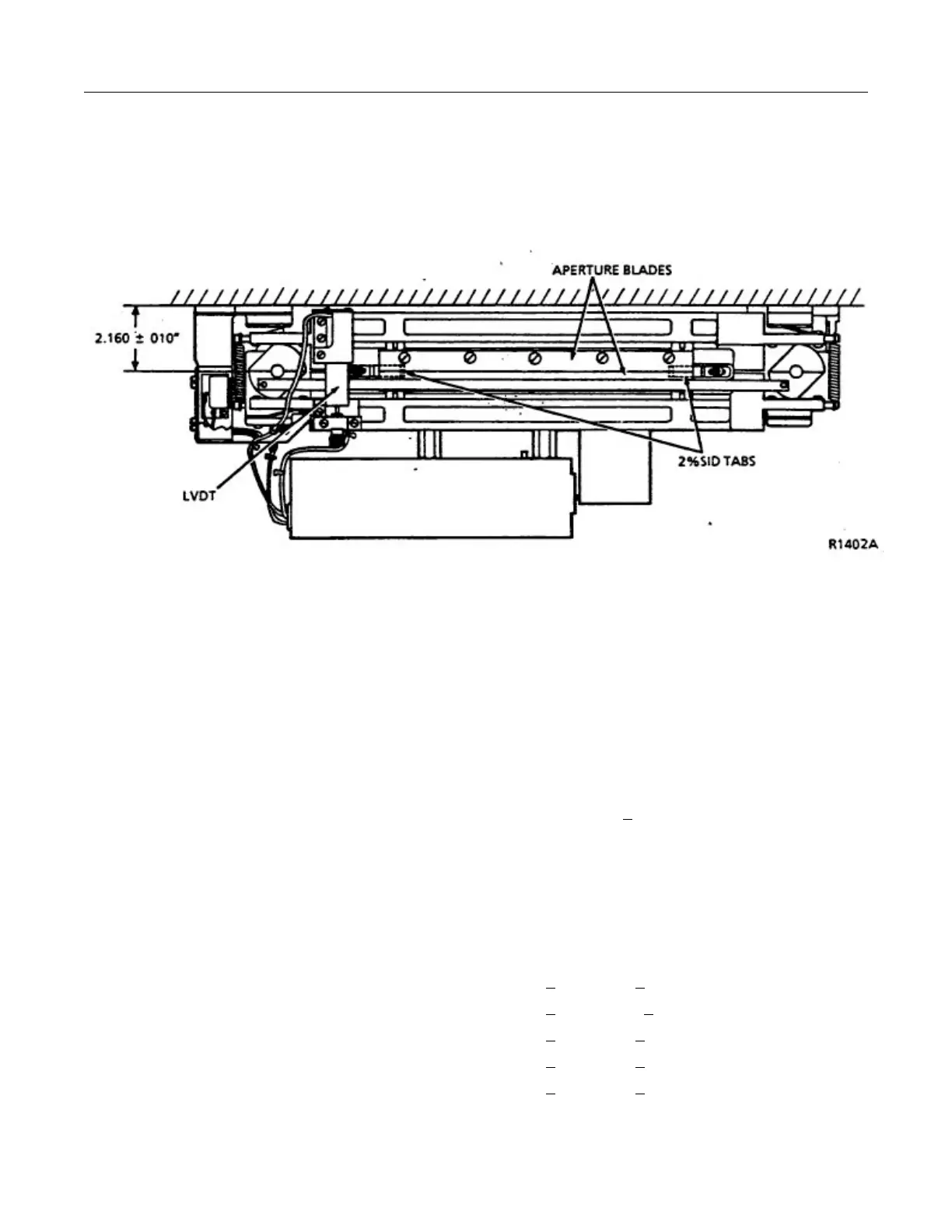
ILLUSTRATION 6-9-6
Two adjustable edge tabs are located just behind the variable beam aperture blades as shown in Illustration
6-9-6. These tabs limit the ends of the fan beam to meet the 2% SID overshoot requirements of H.H.S. prior to
Sept. 1985. When required, these tabs are adjusted based on films taken at the ends of the detector. When a
collimator is replaced, the 2% SID tabs should be initially set for the widest beam and left there for systems
manufactured after September 1985, or adjusted inward based on SID films for systems manufactured before
September 1985.
To adjust the collimator theta position, turn off the gantry scan drive switch and position the gantry for -90 or
+270° theta. Open the gantry front cover and install the dial indicator to measure collimator position change.
Loosen the (4) 1/4-20 cap screws and adjust the collimator position using the special 3/8-16 screw. One turn
clockwise of this screw lowers the collimator 0.0625” (1.5875mm). Snug the (4) cap screws and check the dial
indicator for the required shift. When achieved, tighten the (4) lock bolts to 10 + 1.0 ft. lbs. torque.
Aperture thickness or slice thickness is determined by the gap between the blades of the collimator. The blades
are driven by two cams at the ends of the collimator and gap spacing is monitored by a LVDT linear displacement
transducer. Refer to Direction 18005 for functional check and adjustment of the collimator aperature. For
reference, the blade gap is listed below.
APERTURE GAP BETWEEN BLADES Inches (mm)
CLOSED
1.5mm
3.0mm
5.0mm
10.0mm
0.000 + .005 (0.00 + 0.127)
0.023 + .005 (0.584 + 0.127)
0.047 + .005 (1.19 + 0.127)
0.078 + .005 (1.98 + 0.127)
0.156 + .005 (3.96 + 0.127)

Table of Contents

Related product manuals